Запчасти Case IH 7700 (B01[60A]) - HYDRAULIC CYLINDER {BASECUTTER LIFT} (OPTIONAL MOUNT) Hydraulic Components & Circuits

Схема запчастей Case IH 7700 - (B01[60A]) - HYDRAULIC CYLINDER {BASECUTTER LIFT} (OPTIONAL MOUNT) Hydraulic Components & Circuits
14
24
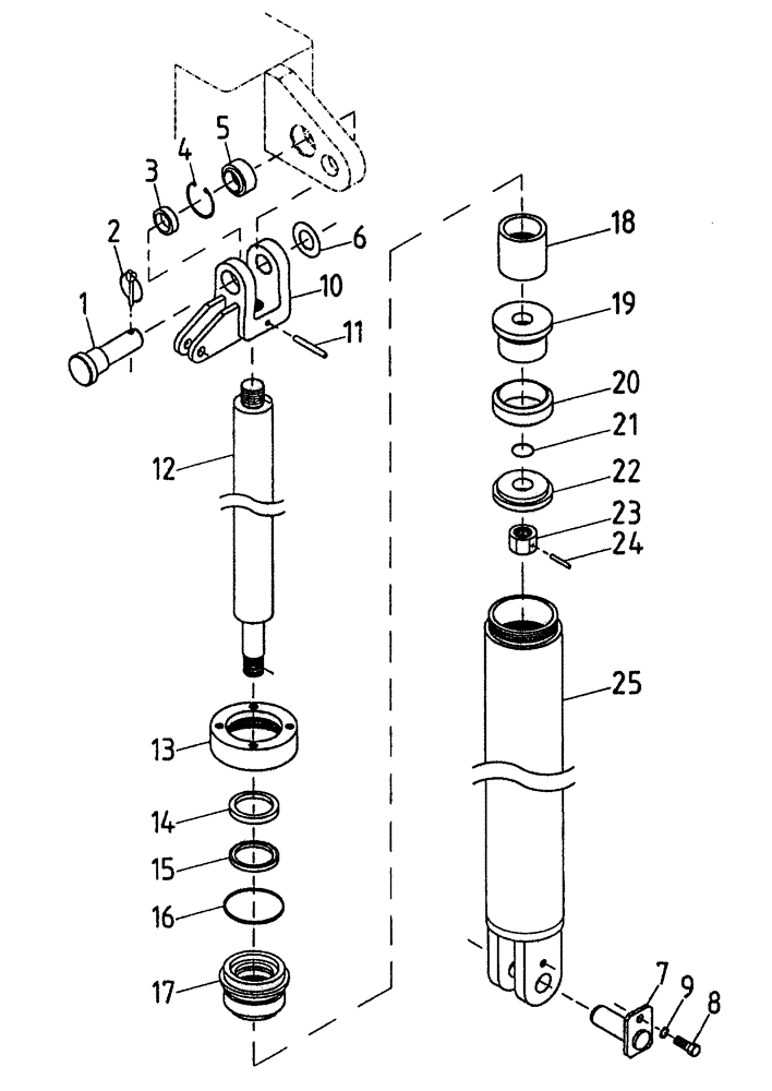
17
4
3
6
1
11
15
25
9
2
21
20
23
13
16
5
10
19
22
8
7
18
12
FIT
1:1
100%

Артикул

Название

Примечание

Количество

1

87237359

PIN,29mm OD x 96.5mm L

1шт.

2

00606627

PIN

lynch

1шт.

3

87237360

SPACER

1шт.

4

CI042000

CIRCLIP

1шт.

5

00141584

BEARING

1шт.

6

WA250000

WASHER

1шт.

7

87237362

PIN,25mm OD x 75mm L

1шт.

8

FM110025

BOLT

1шт.

9

WB100000

WASHER

1шт.

10

87237338

CLEVIS

1шт.

11

00606414

PIN

roll

1шт.

12

87237339

SHAFT

1шт.

13

87045700

SPECIAL NUT

1шт.

14

00100722

WIPER SEAL

wiper

1шт.

15

00100711

WIPER SEAL

1шт.

16

00100110

O-RING

1шт.

17

87214804

CYLINDER HEAD

1шт.

18

87237342

SPACER

1шт.

19

86787200

CYLINDER,74.73mm Bore, 25.46mm Rod, 45.1mm W

piston

1шт.

20

00100715

OIL SEAL

1шт.

21

00100019

O-RING

1шт.

22

86787100

PISTON

RETAINER

1шт.

23

00606612

NUT

1шт.

24

SB050030

PIN

PIN roll

1шт.

25

87237340

CYLINDER

barrel, L.H.

1шт.

25

87237341

ASSEMBLY

BARREL, R.H.

1шт.

26

87213917

SEAL KIT

1шт.

27

87237336

CYLINDER,Double Acting, 44.45mm Rod, 575mm Stroke

ASSEMBLY, L.H., Includes: Refs. 10-25

1шт.

27

87237337

CYLINDER

ASSEMBLY, R.H., Includes: Refs. 10-25

1шт.

Выбрано товаров: 29