Запчасти Case IH 7700 (B02[52A]) - HYDRAULIC MOTOR M30C Hydraulic Components & Circuits

Схема запчастей Case IH 7700 - (B02[52A]) - HYDRAULIC MOTOR M30C Hydraulic Components & Circuits
14
18
6
15
4
11
9
7
19
11
5
3
9
8
2
10
13
16
17
12
10
18
13
1
FIT
1:1
100%

Артикул

Название

Примечание

Количество

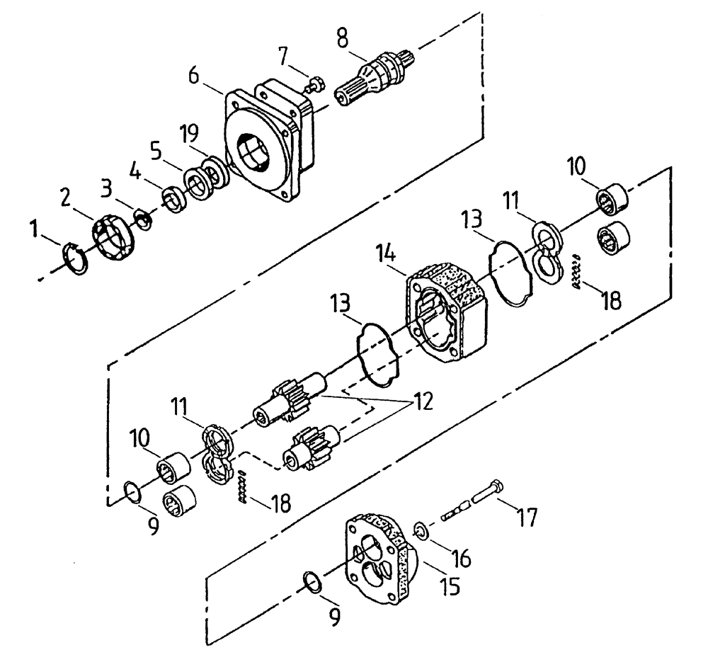
1

00400511

COUPLING

RING snap

1шт.

2

00144115

BALL BEARING

1шт.

3

00400521

RETAINER

1шт.

4

00400520

SPACER

1шт.

5

00400549

RETAINER

1шт.

6

00400506

HYDRAULIC PUMP

section

1шт.

7

00400608

CHECK VALVE

ASSEMBLY

1шт.

8

00400522

SHAFT

1шт.

9

00400507

SEAL

2шт.

10

00408768

BEARING

roller

4шт.

11

00400516

RETAINER

PLATE thrust

2шт.

12

00400526

GEAR

SET

1шт.

13

00400518

GASKET

2шт.

14

00400525

HOUSING

1шт.

15

00407886

COVER

COVER end

1шт.

16

00400531

WASHER

4шт.

17

00404149

SCREW

4шт.

18

00400517

SEAL

strip

2шт.

19

00404108

OIL SEAL

1шт.

20

00404123

SEAL KIT

1шт.

21

00408452

MOTOR, HYDRAULIC

ASSEMBLY

1шт.

Выбрано товаров: 21