Запчасти Case IH 7700 (B02[65A]) - HYDRAULIC MOTOR M51B Hydraulic Components & Circuits

Схема запчастей Case IH 7700 - (B02[65A]) - HYDRAULIC MOTOR M51B Hydraulic Components & Circuits
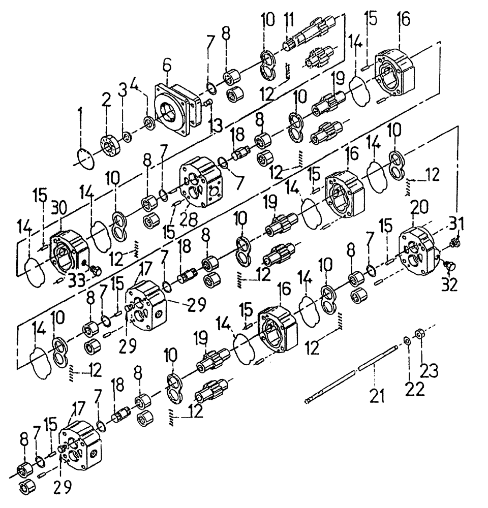
17
31
1
1
1
13
15
14
10
14
7
14
15
20
12
15
10
7
11
29
33
12
19
28
8
10
14
6
29
15
10
29
15
8
7
12
7
8
4
14
21
2
10
8
16
3
12
12
10
30
8
32
18
17
7
16
12
10
15
23
16
22
15
7
18
19
14
7
8
14
7
14
12
8
19
18
15
8
FIT
1:1
100%

Артикул

Название

Примечание

Количество

1

00400581

RING

snap

1шт.

2

00144114

BALL BEARING

1шт.

3

00400622

SEAL

RETAINER

1шт.

4

00400621

SEAL

1шт.

6

00405463

FLANGE

COVER end

1шт.

7

00400576

SEAL

8шт.

8

00400577

ROLLER

BEARING

16шт.

10

00400589

PLATE

thrust

8шт.

11

00400592

GEAR

SET

1шт.

12

00400517

SEAL

strip

8шт.

13

00400608

CHECK VALVE

ASSEMBLY

2шт.

14

00400590

GASKET

8шт.

15

00404710

DOWEL

PIN

16шт.

16

00405466

HOUSING

3шт.

17

00405876

CARRIER

2шт.

18

00400598

SHAFT

3шт.

19

00400604

GEAR

SET

3шт.

20

00407775

COVER

COVER end

1шт.

21

00407864

STUD

4шт.

22

00400531

WASHER

4шт.

23

00400532

NUT

4шт.

28

00407862

CARRIER

1шт.

29

00405879

CHECK VALVE

CARTRIDGE

4шт.

30

00407863

TRANSMISSION HOUSING

1шт.

31

00401873

HYD CONNECTOR

PLUG

2шт.

32

00400095

PLUG

PLUG

1шт.

33

00400258

HYD CONNECTOR

PLUG

1шт.

34

00407865

SEAL KIT

1шт.

35

00407819

MOTOR, HYDRAULIC

ASSEMBLY

1шт.

Выбрано товаров: 29