Запчасти Case IH 7700 (B05-24) - HYDRAULIC SOLENOID RELIEF VALVE Hydraulic Components & Circuits

Схема запчастей Case IH 7700 - (B05-24) - HYDRAULIC SOLENOID RELIEF VALVE Hydraulic Components & Circuits
1
3
2
4
7
5
6
2
FIT
1:1
100%

Артикул

Название

Примечание

Количество

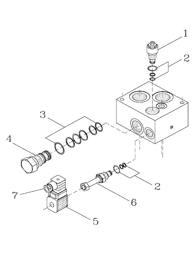
1

00409522

VALVE PRESSURE RELIE

CARTRIDGE

1шт.

2

00409514

SEAL KIT

2шт.

3

00409515

SEAL KIT

1шт.

4

00409523

VALVE PRESSURE RELIE

CARTRIDGE

1шт.

5

00409527

COIL

SOLENOID

1шт.

6

00409227

VALVE PRESSURE RELIE

CARTRIDGE

1шт.

7

00409524

ELEC CONNECTOR

CONNECTOR

1шт.

8

00410033

HYDRAULIC VALVE

ASSEMBLY

1шт.

Выбрано товаров: 8