Качественные детали и логистика
Оригинальные и аналоговые запчасти с доставкой по России, Казахстану и Беларуси
©2022 PartSell ООО "Система" ИНН 2463123282 ОГРН 1212400004838
Центральный офис: г. Красноярск, Академика Киренского, д.87, пом.4
Телефон: 8 (800) 777-65-74 Email: zakaz@partsell.ru
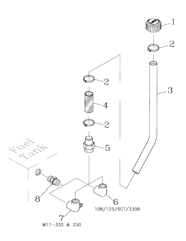
(C01-13) - FUEL TANK BREATHER
№
Артикул
Название
Примечание
Количество
1
00401607
FILLER CAP
CAP
1шт.
2
00152128
HOSE CLAMP
CLAMP
3шт.
3
87243286
TUBE,38.10 mm OD
4
86312272
HOSE,38.10 mm ID x 110.00 mm
38.10 mm ID x 110.00 mm
5
00408560
FITTING
HOSETAIL
6
00152075
ELBOW
(108/125/6CT/3306)
7
87247927
(M11)
8
00400122
ASSEMBLY
NIPPLE
Выбрано товаров: 0