Запчасти Case IH 7700 (C02-10) - WATER RADIATOR, 3306 Engine & Engine Attachments

Схема запчастей Case IH 7700 - (C02-10) - WATER RADIATOR, 3306 Engine & Engine Attachments
23
23
6
14
16
3
24
23
17
16
2
23
11
11
16
16
24
24
20
4
10
22
16
9
23
21
12
23
18
15
24
23
19
17
23
13
16
8
24
7
5
1
23
24
17
FIT
1:1
100%

Артикул

Название

Примечание

Количество

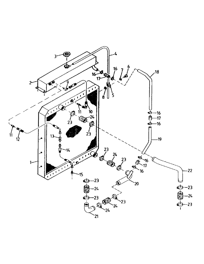
1

00181141

RADIATOR

1шт.

2

87233367

COOLER

TANK

1шт.

3

00180923

RADIATOR CAP

CAP

1шт.

4

86308718

TUBE

1шт.

5

00134540

CLAMP

CLIP

4шт.

6

FA108025

BOLT

8шт.

7

WB080000

WASHER

8шт.

8

WA080000

WASHER

8шт.

9

00400188

HYD CONNECTOR

ELBOW

1шт.

10

82743000

HOSE

1шт.

11

00400162

HYD CONNECTOR

NIPPLE

2шт.

12

87234640

HOSE

1шт.

13

00400070

HYD CONNECTOR

NIPPLE

1шт.

14

87227835

HOSE,6.30 mm ID x 570.00 mm, SAE 100R17 Class 25 Type 2

6.30 mm ID x 570.00 mm, SAE 100R17 Class 25 Type 2

1шт.

15

00400160

HYD CONNECTOR

NIPPLE

1шт.

16

00152127

HOSE CLAMP

CLAMP

6шт.

17

86311778

HOSE,3.75"

3.75

3шт.

18

87233975

TUBE,21.40 mm ID x 25.40 mm OD

1шт.

19

87243922

PIPE,25.40 mm OD

TUBE

1шт.

20

87243920

PIPE

TUBE

1шт.

21

87242478

PIPE,2.50" DIA

TUBE

1шт.

22

87242477

PIPE,2.50" DIA

TUBE

1шт.

23

00154570

HOSE CLAMP

CLAMP

10шт.

24

87235766

HOSE,63.50 mm ID x 75.00 mm

63.50 mm ID x 75.00 mm

5шт.

Выбрано товаров: 24