Запчасти Case IH 7700 (C05-05) - ENGINE MOUNTS, 3306 Engine & Engine Attachments

Схема запчастей Case IH 7700 - (C05-05) - ENGINE MOUNTS, 3306 Engine & Engine Attachments
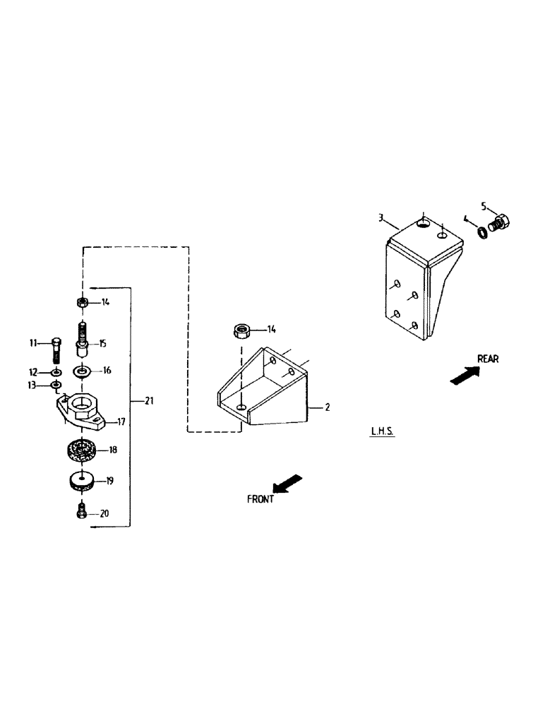
12
20
14
19
18
13
16
3
15
5
4
11
21
14
17
2
FIT
1:1
100%

Артикул

Название

Примечание

Количество

2

87242466

MOUNTING PARTS

MOUNT (LH FRONT)

1шт.

3

87242461

MOUNTING PARTS

MOUNT (LH REAR)

1шт.

4

00605831

WASHER

8шт.

5

00601512

BOLT

8шт.

11

00608166

BOLT

6шт.

12

00605829

WASHER

6шт.

13

00605810

WASHER

6шт.

14

00606250

NUT

6шт.

15

87217397

PIN,19.05mm OD x 95mm L

3шт.

16

87217400

WASHER

3шт.

17

87217410

HOUSING

3шт.

18

87217403

DISC

3шт.

19

87217402

WASHER

3шт.

20

00606755

BOLT

3шт.

21

87217404

MOUNTING PARTS

MOUNT ASSEMBLY

3шт.

Выбрано товаров: 0