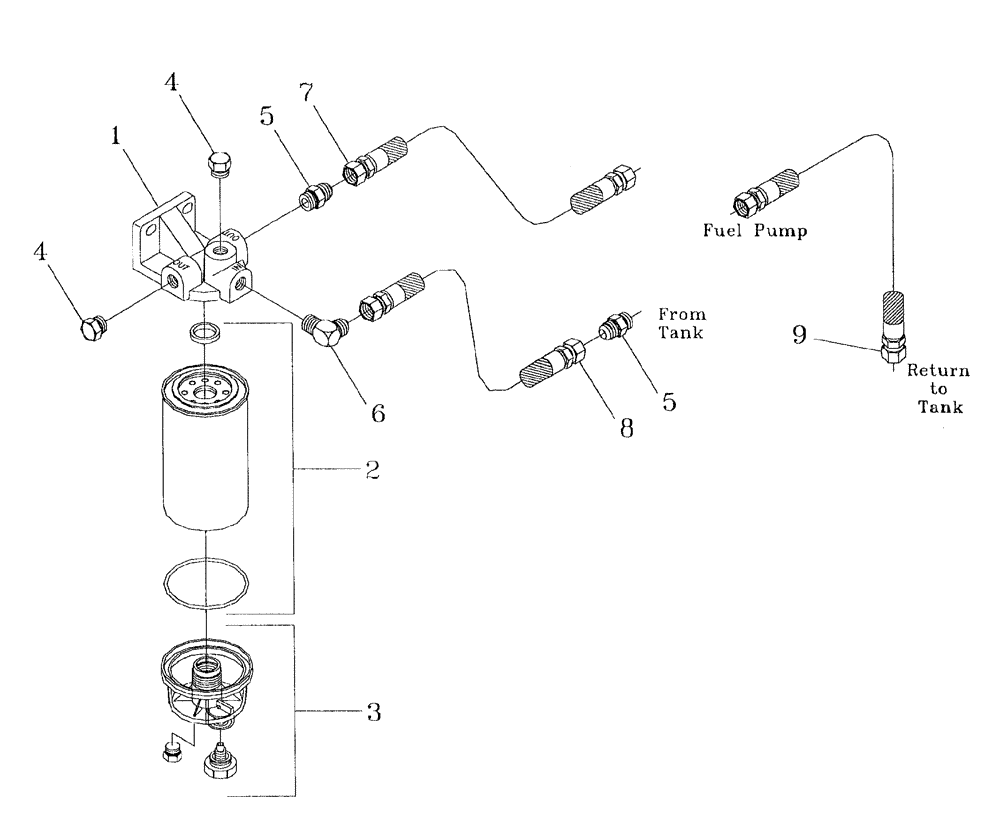
Запчасти Case IH 7700 (C01[11]) - WATER SEPARATOR AND FUEL LINES {3306} Engine & Engine Attachments

Схема запчастей Case IH 7700 - (C01[11]) - WATER SEPARATOR AND FUEL LINES {3306} Engine & Engine Attachments
4
5
5
9
7
8
4
6
3
2
1
FIT
1:1
100%

Артикул

Название

Примечание

Количество

1

00180872

HEAD

1шт.

2

00180873

ELEMENT

1шт.

3

00139820

BOWL

1шт.

4

00605619

PLUG

2шт.

5

00400165

HYD CONNECTOR

NIPPLE

2шт.

6

00400192

HYD CONNECTOR

ELBOW

1шт.

7

87247928

HOSE

1шт.

8

87220567

HOSE,12.7mm ID x 350mm L, SAE 100R6

HOSE

1шт.

9

87244005

HOSE

1шт.

Выбрано товаров: 9