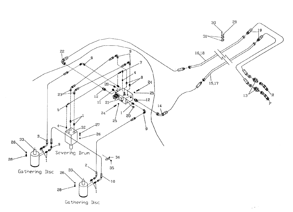
Запчасти Case IH 7700 (B06[18]) - HYDRAULIC CIRCUIT {STANDARD TOPPER} Hydraulic Components & Circuits

Схема запчастей Case IH 7700 - (B06[18]) - HYDRAULIC CIRCUIT {STANDARD TOPPER} Hydraulic Components & Circuits
33
34
11
26
9
1
26
4
29
1
25
15
10
20
14
20
24
12
21
5
24
28
23
19
26
13
28
4
22
31
17
1
9
2
1
3
27
9
12
7
18
35
8
16
32
25
9
30
33
FIT
1:1
100%

Артикул

Название

Примечание

Количество

1

00400228

HYD CONNECTOR

NIPPLE

8шт.

2

86303537

HOSE ASSY.

1шт.

3

87214349

HOSE,12.7mm ID x 1280mm L, SAE 100R17

HOSE

1шт.

4

00400235

HYD CONNECTOR

NIPPLE

2шт.

5

82743000

HOSE

HOSE

1шт.

7

00402879

HYD CONNECTOR

ELBOW

1шт.

8

00400230

HYD CONNECTOR

NIPPLE

2шт.

9

00407516

HYD CONNECTOR

BEND

5шт.

10

87067400

HOSE ASSY.

1шт.

11

00405498

SCREW ON COUPLING

POINT test

1шт.

12

00400234

HYD CONNECTOR

NIPPLE

2шт.

13

00400067

HYD CONNECTOR

NIPPLE

2шт.

14

87254745

HOSE

1шт.

15

87254264

TUBE,21.40 mm ID x 25.40 mm OD

[LH] [standard]

1шт.

16

87254265

TUBE,25.40 mm DIA

[RH] [standard]

1шт.

17

87254293

TUBE,25.40 mm OD

[LH] [extended]

1шт.

18

87254294

TUBE,25.40 mm OD

[RH] [extended]

1шт.

19

87256259

HOSE ASSY.

2шт.

20

00400256

PLUG

PLUG

2шт.

21

VALVE hydraulic solenoid

1шт.

Refer Figure B05.13

1шт.

22

87256258

HOSE

HOSE

1шт.

23

82755700

HOSE ASSY.

HOSE

1шт.

24

FA110020

BOLT

4шт.

25

WB100000

WASHER

4шт.

26

00605829

WASHER

6шт.

27

00601506

BOLT

2шт.

28

00604535

SCREW

4шт.

29

00409572

COVER PLATE

6шт.

30

FA106040

BOLT

12шт.

31

00405071

CLAMP

6шт.

32

MOTOR hydraulic

1шт.

Refer Figure B03.12

1шт.

33

MOTOR hydraulic

1шт.

Refer Figure B03.06

1шт.

34

82029900

BRACKET

2шт.

35

00605999

LOCK NUT

2шт.

Выбрано товаров: 37