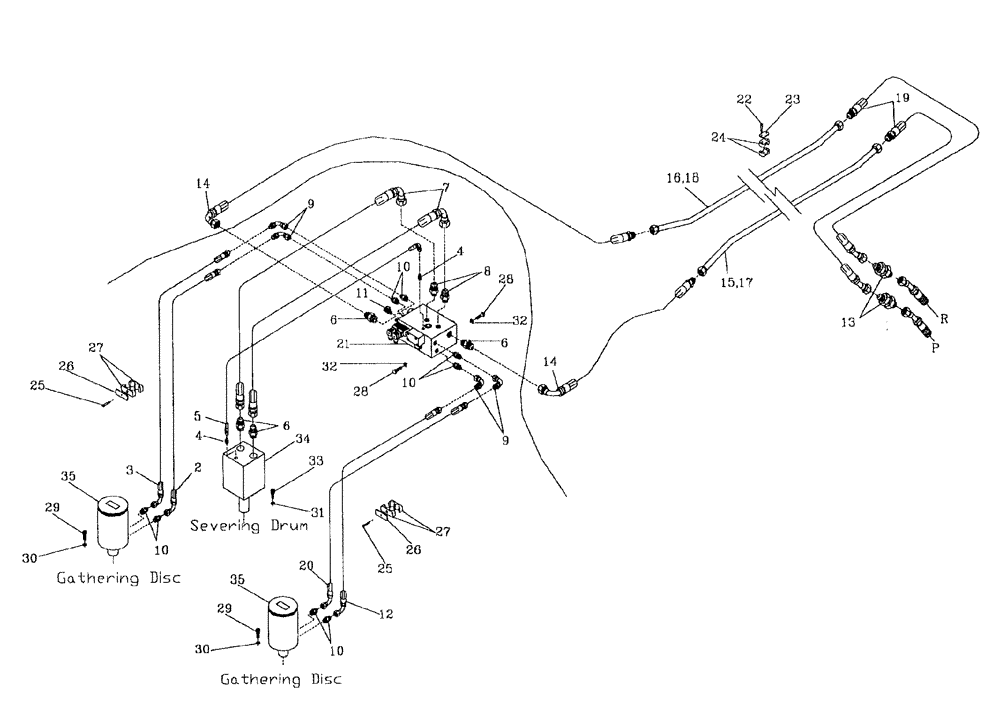
Запчасти Case IH 7700 (B06[19]) - HYDRAULIC CIRCUIT {SHREDDER TOPPER} Hydraulic Components & Circuits

Схема запчастей Case IH 7700 - (B06[19]) - HYDRAULIC CIRCUIT {SHREDDER TOPPER} Hydraulic Components & Circuits
10
22
16
10
13
11
28
6
26
32
21
29
6
27
30
29
10
14
10
35
2
5
17
8
32
3
6
28
15
25
4
31
12
26
33
9
23
18
9
4
14
27
19
7
34
25
20
24
30
35
FIT
1:1
100%

Артикул

Название

Примечание

Количество

2

87225804

HOSE

1шт.

3

86302419

HOSE,12.7mm ID x 1480mm L, SAE 100R16

HOSE

1шт.

4

00400223

HYD CONNECTOR

NIPPLE

2шт.

5

86302756

HOSE ASSY.

1шт.

6

00400234

HYD CONNECTOR

NIPPLE

4шт.

7

87227018

HOSE

2шт.

8

00400232

HYD CONNECTOR

NIPPLE

2шт.

9

00407516

HYD CONNECTOR

BEND

4шт.

10

00400228

HYD CONNECTOR

NIPPLE

8шт.

11

00405498

SCREW ON COUPLING

POINT test

1шт.

12

87255987

HOSE

1шт.

13

00400067

HYD CONNECTOR

NIPPLE

2шт.

14

87254005

HOSE ASSY.

2шт.

15

87254264

TUBE,21.40 mm ID x 25.40 mm OD

[LH] [standard]

1шт.

16

87254265

TUBE,25.40 mm DIA

[RH] [standard]

1шт.

17

87254293

TUBE,25.40 mm OD

[LH] [extended]

1шт.

18

87254294

TUBE,25.40 mm OD

[RH] [extended]

1шт.

19

87256259

HOSE ASSY.

2шт.

20

87214241

HOSE

1шт.

21

VALVE hydraulic solenoid

1шт.

Refer Figure B05.13

1шт.

22

FA106040

BOLT

12шт.

23

00409572

COVER PLATE

6шт.

24

00405071

CLAMP

6шт.

25

FA108045

BOLT

2шт.

26

00405228

COVER PLATE

2шт.

27

00405072

CLAMP

2шт.

28

FA110020

BOLT

4шт.

29

FC112035

SCREW,M12 x 1.75 x 35mm

4шт.

30

WB120000

WASHER

4шт.

31

00605829

WASHER

4шт.

32

WB100000

WASHER

4шт.

33

00604536

SCREW

BOLT

4шт.

34

MOTOR hydraulic

1шт.

Refer Figure B03.07

1шт.

35

MOTOR hydraulic

1шт.

Refer Figure B03.06

1шт.

Выбрано товаров: 37