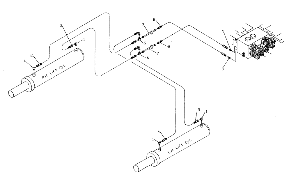
Запчасти Case IH 7700 (B06[29]) - HYDRAULIC CIRCUIT {ELEVATOR LIFT} Hydraulic Components & Circuits

Схема запчастей Case IH 7700 - (B06[29]) - HYDRAULIC CIRCUIT {ELEVATOR LIFT} Hydraulic Components & Circuits
8
7
9
9
1
6
5
1
1
6
7
4
8
3
1
2
FIT
1:1
100%

Артикул

Название

Примечание

Количество

1

00400189

HYD CONNECTOR

ELBOW

4шт.

2

87222449

HOSE ASSY.

[standard/ extended elevator]

1шт.

2

82721300

HOSE,6.35mm ID x 1920mm L, SAE 100R17

HOSE [Kratz]

1шт.

3

87237582

HOSE ASSY.

[standard/ extended elevator]

1шт.

3

87235847

HOSE,6.35mm ID x 920mm L, SAE 100R17

HOSE [Kratz]

1шт.

4

82725000

HOSE ASSY.,6.35mm ID x 2720mm L, SAE 100R17

[standard/ extended elevator]

1шт.

4

86837700

HOSE,6.35mm ID x 3020mm L, SAE 100R17

HOSE [Kratz]

1шт.

5

87219146

HOSE,6.35mm ID x 2150mm L, SAE 100R17

HOSE [standard/ extended elevator]

1шт.

5

82731200

HOSE,6.35mm ID x 2550mm L, SAE 100R17

HOSE [Kratz]

1шт.

6

00400207

TEE

2шт.

7

87247176

TUBE,9.50 mm ID x 6.30 mm OD x 850 mm L

TUBE

2шт.

8

87255997

HOSE

2шт.

9

00400223

HYD CONNECTOR

NIPPLE

2шт.

Выбрано товаров: 0