Качественные детали и логистика
Оригинальные и аналоговые запчасти с доставкой по России, Казахстану и Беларуси
©2022 PartSell ООО "Система" ИНН 2463123282 ОГРН 1212400004838
Центральный офис: г. Красноярск, Академика Киренского, д.87, пом.4
Телефон: 8 (800) 777-65-74 Email: zakaz@partsell.ru
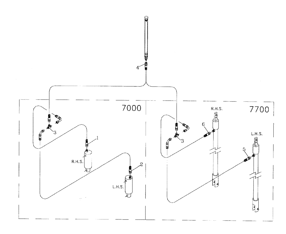
(B06[45]) - HYDRAULIC CIRCUIT {HEIGHT INDICATOR}
№
Артикул
Название
Примечание
Количество
1
87254224
HOSE,6.35mm ID x 2200mm L, SAE 100R17
HOSE
1шт.
2
87234644
HOSE ASSY.
3
00400207
TEE
4
81677900
HOSE ASSY.,6.35 mm ID x 760.00 mm, SAE 100R17
5
87224512
HYDRAULIC HOSE
6
87254525
Выбрано товаров: 0