Запчасти Case IH 7700 (A03[04]) - SIDETRIM KNIVES Mainframe & Functioning Components

Схема запчастей Case IH 7700 - (A03[04]) - SIDETRIM KNIVES Mainframe & Functioning Components
12
2
8
13
11
7
3
4
10
5
9
1
6
FIT
1:1
100%

Артикул

Название

Примечание

Количество

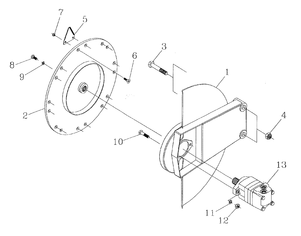
1

87237148

MOUNTING PARTS

2шт.

2

87217492

HUB

2шт.

3

00601557

BOLT

4шт.

4

00606003

LOCK NUT

4шт.

5

87213869

BLADE

16шт.

6

00605373

SCREW

32шт.

7

00605998

LOCK NUT

32шт.

8

00601499

BOLT

2шт.

9

00605827

WASHER

2шт.

10

FM112050

BOLT

4шт.

11

WB120000

WASHER

4шт.

12

NJ112000

NUT

4шт.

13

MOTOR hydraulic, (Refer Page B03.05)

1шт.

Выбрано товаров: 13