Запчасти Case IH 7700 (A07[02]) - VERTICAL ARM EXTRACTOR FAN (PRIMARY) Mainframe & Functioning Components

Схема запчастей Case IH 7700 - (A07[02]) - VERTICAL ARM EXTRACTOR FAN (PRIMARY) Mainframe & Functioning Components
33
40
4
28
12
35
25
36
17
26
7
5
32
10
16
14
24
1
15
42
13
9
20
30
32
18
4
22
38
37
39
23
29
11
19
14
41
6
31
21
27
34
8
30
3
2
FIT
1:1
100%

Артикул

Название

Примечание

Количество

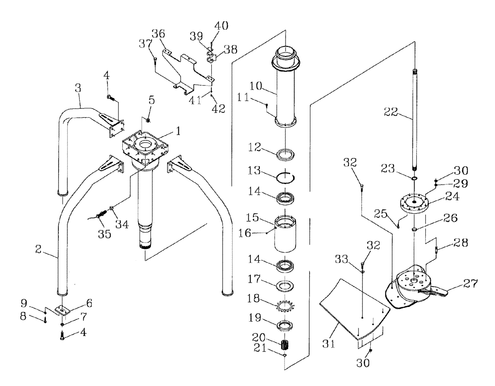
1

87253933

MOUNTING PARTS

MOUNT

1шт.

2

87253927

SUPPORTING ARM

[front]

1шт.

3

87253929

SUPPORTING ARM

[side]

2шт.

4

FM116045

BOLT

15шт.

5

NJ116000

NUT

12шт.

6

87250612

PLATE

SPACER

3шт.

7

WB160000

SPRING WASHER

3шт.

8

FM110020

BOLT

6шт.

9

WB100000

WASHER

6шт.

10

87248284

SLEEVE

1шт.

11

FC110025

SCREW,M10 x 1.5 x 25mm

8шт.

12

00100824

OIL SEAL

1шт.

13

00141708

CIRCLIP

1шт.

14

00146532

BEARING

2шт.

15

87230229

BEARING HOUSING,124 mm ID x 170 mm OD x 235 mm

1шт.

16

00138637

LUBE NIPPLE

grease

1шт.

17

87230348

LOCK WASHER

1шт.

18

00146523

WASHER

lock

1шт.

19

00146524

LOCK NUT

1шт.

20

87232884

SPLINED COUPLING,14T Internal / 16T External

1шт.

21

CI028000

CIRCLIP

1шт.

22

87246767

SHAFT

1шт.

23

CE032000

CIRCLIP

1шт.

24

87251179

FLANGE COVER CAP

end

1шт.

25

FM108025

BOLT

8шт.

26

00180467

PLUG

1шт.

27

87253744

HUB ASSY.

1шт.

28

87251805

STUD

8шт.

29

WB120000

WASHER

8шт.

30

NJ112000

NUT

20шт.

31

87255635

SET OF BLADES

[standard wear liner]

1шт.

31

87255636

SET OF BLADES

[heavy duty wear liner]

1шт.

32

FP112035

BOLT

12шт.

33

87254623

WASHER

3шт.

34

87246713

SPACER

1шт.

35

00181825

SENDER UNIT

SENDER

1шт.

36

87254127

PLATE

MOUNT

1шт.

37

FM112045

BOLT

2шт.

38

00405071

CLAMP

2шт.

39

00409572

COVER PLATE

2шт.

40

FA106055

BOLT

4шт.

41

WA060000

WASHER

4шт.

42

NC106000

LOCK NUT

4шт.

Выбрано товаров: 43