Запчасти Case IH 7700 (A13[08]) - AIR CONDITIONER COMPRESSOR Mainframe & Functioning Components

Схема запчастей Case IH 7700 - (A13[08]) - AIR CONDITIONER COMPRESSOR Mainframe & Functioning Components
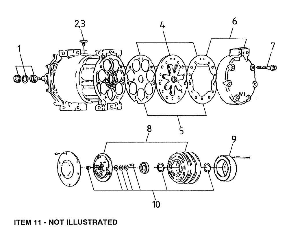
4
7
3
9
8
6
5
2
1
10
FIT
1:1
100%

Артикул

Название

Примечание

Количество

1

00181909

SEAL ASSY.

[shaft]

1шт.

2

00181910

PLUG

PLUG/O-RING

1шт.

3

00181911

O-RING

O-RING

1шт.

4

00181912

VALVE

KIT plate

1шт.

5

00181913

GASKET

KIT gasket

1шт.

6

00181914

CYLINDER ASSY.

KIT cylinder head

1шт.

7

00181915

BOLT

BOLT

6шт.

8

00181916

ARMATURE

ROTOR ASSEMBLY "Model 7887"

1шт.

8

00181917

ARMATURE

ROTOR ASSEMBLY "Model 7888"

1шт.

9

00181918

COIL

1шт.

10

00181919

KIT

accessory

1шт.

11

00181920

ROTOR ASSY.

BEARING

1шт.

12

00181921

CLUTCH ASSEMBLY

"Model 7887"

1шт.

12

00181922

CLUTCH ASSEMBLY

"Model 7888"

1шт.

13

00181083

AIRCOND. COMPRESSOR

ASSEMBLY [complete] "Model 7887"

1шт.

13

00181187

COMPRESSOR

ASSEMBLY [complete] "Model 7888"

1шт.

Выбрано товаров: 16