Запчасти Case IH 7700 (C05[05]) - ENGINE MOUNTS {3306} Engine & Engine Attachments

Схема запчастей Case IH 7700 - (C05[05]) - ENGINE MOUNTS {3306} Engine & Engine Attachments
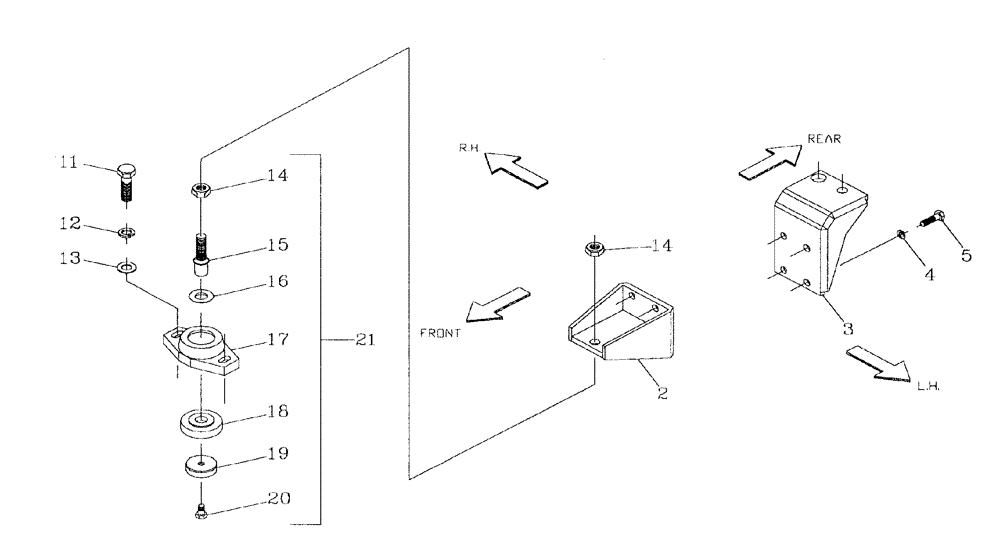
5
14
3
16
2
19
20
11
21
15
12
18
17
4
14
13
FIT
1:1
100%

Артикул

Название

Примечание

Количество

2

87242466

MOUNTING PARTS

MOUNT [LH front]

1шт.

3

87242461

MOUNTING PARTS

MOUNT [LH rear]

1шт.

4

00605831

WASHER

8шт.

5

00601512

BOLT

8шт.

11

00608166

BOLT

8шт.

12

00605829

WASHER

8шт.

13

00605810

WASHER

8шт.

14

00606250

NUT

8шт.

15

87217397

PIN,19.05mm OD x 95mm L

4шт.

16

87217400

WASHER

4шт.

17

87217410

HOUSING

HOUSING

4шт.

18

87217403

DISC

4шт.

19

87217402

WASHER

4шт.

20

00606755

BOLT

4шт.

21

87217404

MOUNTING PARTS

ASSEMBLY

4шт.

Выбрано товаров: 15