Качественные детали и логистика
Оригинальные и аналоговые запчасти с доставкой по России, Казахстану и Беларуси
©2022 PartSell ООО "Система" ИНН 2463123282 ОГРН 1212400004838
Центральный офис: г. Красноярск, Академика Киренского, д.87, пом.4
Телефон: 8 (800) 777-65-74 Email: zakaz@partsell.ru
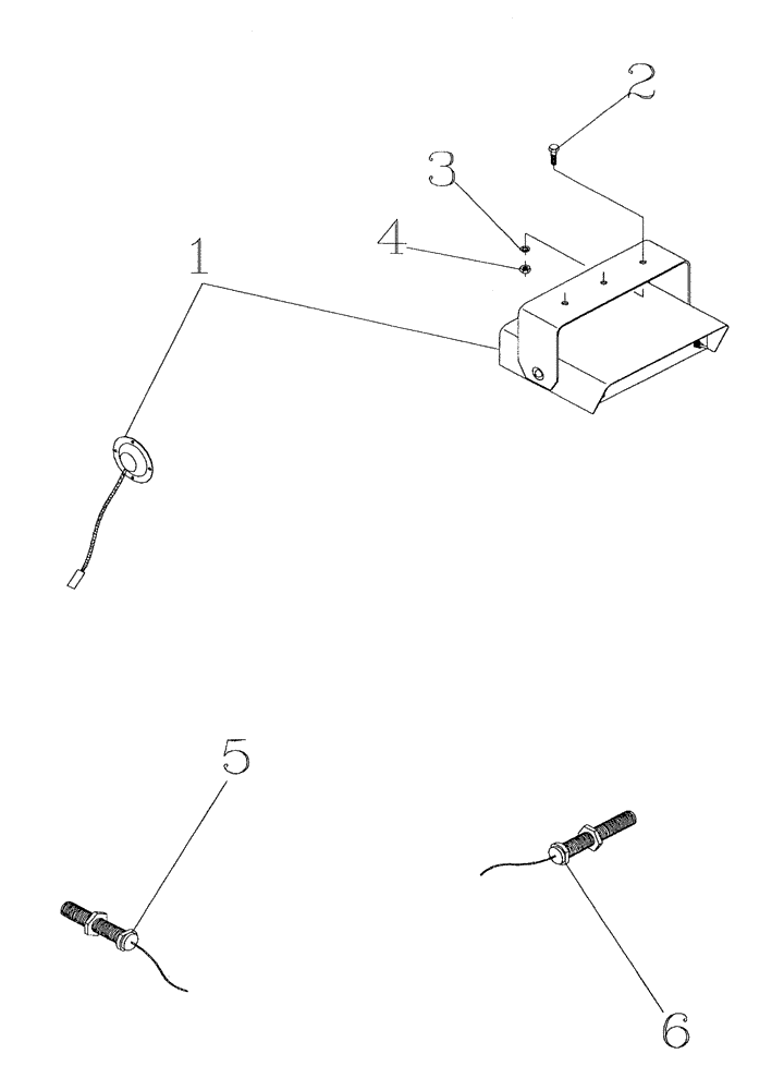
(C09[01]) - CANE LOSS MONITOR
№
Артикул
Название
Примечание
Количество
1
00198037
CONTROL MONITOR
EXTRACTOR SENSOR
1шт.
2
FA106016
BOLT
2шт.
3
WB060000
SPRING WASHER
4
NA106000
NUT
5
00198115
SENSOR
basecutter
6
00181825
SENDER UNIT
SENDER SENSOR extractor
Выбрано товаров: 0