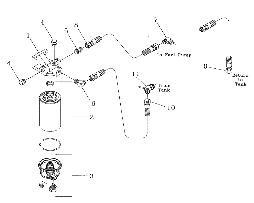
Запчасти Case IH 7700 (C01[04]) - WATER SEPARATOR AND FUEL LINES {125/M11} Engine & Engine Attachments

Схема запчастей Case IH 7700 - (C01[04]) - WATER SEPARATOR AND FUEL LINES {125/M11} Engine & Engine Attachments
7
10
1
6
2
3
5
9
4
8
11
4
FIT
1:1
100%

Артикул

Название

Примечание

Количество

1

00180872

HEAD

1шт.

2

00180873

ELEMENT

1шт.

3

00139820

BOWL

1шт.

4

00605619

PLUG

2шт.

5

00400166

HYD CONNECTOR

NIPPLE

1шт.

6

00400190

ELBOW

ELBOW

1шт.

7

00400242

HYD CONNECTOR

ELBOW

1шт.

8

87247924

HOSE

1шт.

9

87247922

HOSE

1шт.

10

87254823

HOSE

1шт.

11

87220579

ELBOW

1шт.

Выбрано товаров: 11