Запчасти Case IH 7700 (B05[09]) - HYDRAULIC VICKERS VALVE Hydraulic Components & Circuits

Схема запчастей Case IH 7700 - (B05[09]) - HYDRAULIC VICKERS VALVE Hydraulic Components & Circuits
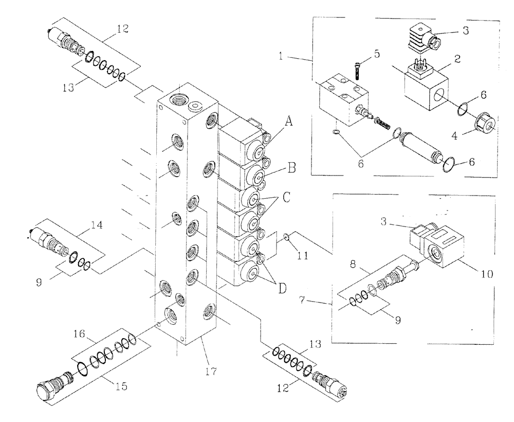
1
17
14
7
9
5
11
4
6
2
16
13
8
9
6
13
12
6
15
1
3
12
3
FIT
1:1
100%

Артикул

Название

Примечание

Количество

1

00410126

HYDRAULIC VALVE

CETOP - A ASSEMBLY

1шт.

1

00410121

HYDRAULIC VALVE

CETOP - B ASSEMBLY

1шт.

1

00410122

HYDRAULIC VALVE

CETOP - C ASSEMBLY

2шт.

1

00410127

HYDRAULIC VALVE

CETOP - D ASSEMBLY

2шт.

2

00410160

SOLENOID

COIL- A/ D ASSEMBLY

6шт.

2

00409922

COIL

solenoid -B/C ASSEMBLY

6шт.

3

00409524

ELEC CONNECTOR

14шт.

4

00409924

NUT

nylon

12шт.

5

00409891

BOLT

KIT

6шт.

6

00409929

SEAL KIT

6шт.

7

00410161

SOLENOID VALVE

CARTRIDGE solenoid

2шт.

8

00410162

VALVE PRESSURE RELIE

CARTRIDGE

2шт.

9

00408151

SEAL KIT

3шт.

10

00409848

SOLENOID

COIL

2шт.

11

00410164

ORIFICE

DISK

2шт.

12

00410165

VALVE PRESSURE RELIE

CARTRIDGE

6шт.

13

00410166

SEAL KIT

6шт.

14

00410167

VALVE PRESSURE RELIE

CARTRIDGE

1шт.

15

00410168

VALVE PRESSURE RELIE

CARTRIDGE

1шт.

16

00410163

SEAL KIT

1шт.

17

00410222

HYDRAULIC VALVE

MANIFOLD

1шт.

18

00410205

VALVE

ASSEMBLY

1шт.

Выбрано товаров: 22