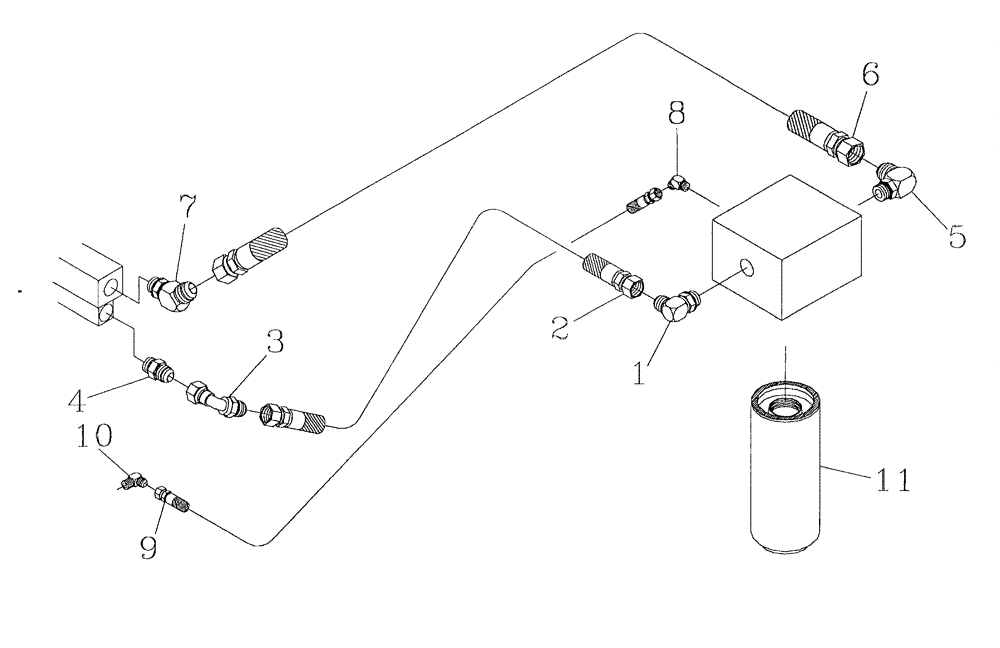
Запчасти Case IH 7700 (C01[09]) - REMOTE OIL FILTER {M11-250/M11-330} Engine & Engine Attachments

Схема запчастей Case IH 7700 - (C01[09]) - REMOTE OIL FILTER {M11-250/M11-330} Engine & Engine Attachments
6
8
3
7
11
5
1
2
9
4
10
FIT
1:1
100%

Артикул

Название

Примечание

Количество

1

00400097

HYD CONNECTOR

ELBOW

1шт.

2

87255051

HOSE

HOSE

1шт.

3

00407240

HYD CONNECTOR

ELBOW

1шт.

4

00400234

HYD CONNECTOR

NIPPLE

1шт.

5

398335A1

HYD CONNECTOR

ELBOW

1шт.

6

87255052

HOSE

1шт.

7

00410134

HYD CONNECTOR

ELBOW

1шт.

8

00410143

ELBOW

1шт.

9

00410197

HOSE ASSY.

HOSE

1шт.

10

00410144

ELBOW

1шт.

11

00180654

ELEMENT

oil

1шт.

Выбрано товаров: 11