Запчасти Case IH 7700 (B06[01]) - HYDRAULIC SUCTION LINES Hydraulic Components & Circuits

Схема запчастей Case IH 7700 - (B06[01]) - HYDRAULIC SUCTION LINES Hydraulic Components & Circuits
8
9
4
4
4
4
1
4
7
5
10
2
6
7
3
4
2
1
8
4
5
6
5
10
5
FIT
1:1
100%

Артикул

Название

Примечание

Количество

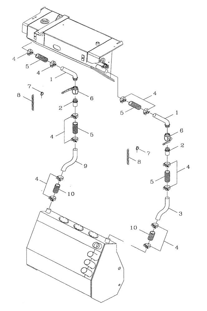
1

87240492

TUBE,50.80 mm OD x 260 mm L

TUBE

2шт.

2

86314466

HYD CONNECTOR,50.80 mm OD x 90 mm L

TUBE

2шт.

3

87240493

TUBE,47.80 mm ID x 50.80 mm OD

L.H.

1шт.

4

00181813

HOSE CLAMP

12шт.

5

83130600

HOSE,50.8mm ID x 152mm L, SAE J20R1

4шт.

6

87240531

HYDRAULIC VALVE

BALL

2шт.

7

00606627

PIN

lynch

2шт.

8

87240807

CHAIN,Assembly, Incl Lynch Pin

CHAIN

2шт.

9

87240494

TUBE,47.80 mm ID x 50.80 mm OD

R.H.

1шт.

10

87217697

HOSE,50.80 mm ID x 115 mm

2шт.

Выбрано товаров: 10