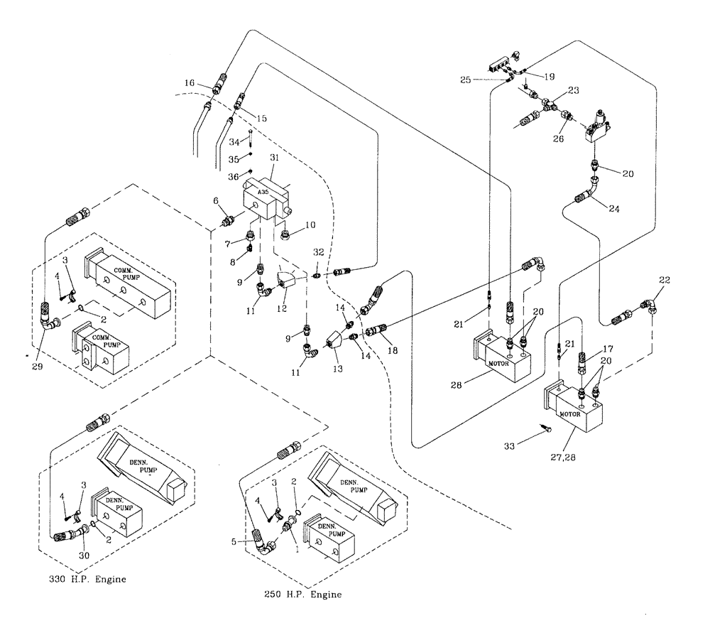
Запчасти Case IH 7700 (B08[07]) - HYDRAULIC CIRCUIT {CHOPPER} Hydraulic Components & Circuits

Схема запчастей Case IH 7700 - (B08[07]) - HYDRAULIC CIRCUIT {CHOPPER} Hydraulic Components & Circuits
29
9
20
3
3
31
2
6
30
36
1
12
34
35
9
2
19
5
14
7
2
25
16
17
24
23
33
13
8
32
18
4
4
26
27
21
10
3
20
20
28
11
11
22
4
21
14
15
28
FIT
1:1
100%

Артикул

Название

Примечание

Количество

1

00409888

HYD CONNECTOR

ADAPTOR

1шт.

2

00100026

O-RING

1шт.

3

00400266

SPECIAL CLAMP

1шт.

4

00604498

SCREW

4шт.

5

87250099

HOSE

1шт.

6

00400237

HYD CONNECTOR

NIPPLE

1шт.

7

86314724

HYD CONNECTOR

ADAPTOR

1шт.

8

00405498

SCREW ON COUPLING

TEST POINT

1шт.

9

00400175

HYD CONNECTOR

NIPPLE

2шт.

10

00400258

HYD CONNECTOR

PLUG

1шт.

11

00409889

HYD CONNECTOR

BEND

2шт.

12

87246899

JUNCTION BOX

Y BLOCK

1шт.

13

87227748

JUNCTION BLOCK

Y

1шт.

14

00400232

HYD CONNECTOR

NIPPLE

2шт.

15

86313012

HOSE,19.05mm ID x 740mm L, SAE 100R16

1шт.

16

82763900

HOSE

1шт.

17

87256023

HOSE

1шт.

18

87214270

HOSE

1шт.

19

86306891

HOSE ASSY.

HOSE

1шт.

20

00400234

HYD CONNECTOR

NIPPLE

5шт.

21

00400074

HYD CONNECTOR

NIPPLE

2шт.

22

00403944

HYD CONNECTOR

BEND

1шт.

23

00405811

TEE

1шт.

24

86300428

HOSE

1шт.

25

87235277

HOSE,6.35mm ID x 470mm L, SAE 100R17

1шт.

26

00410043

ADAPTER

ADAPTOR

1шт.

27

HYDRAULIC MOTOR, 29 cu. in., refer to Figure B03 [09]

1шт.

28

HYDRAULIC MOTOR, 40 cu. in., refer to Figure B03 [09]

1шт.

29

87252560

HOSE

1шт.

30

393578A1

HOSE ASSY.

HOSE

1шт.

31

HYDRAULIC VALVE

1шт.

Refer Figure B05.06

1шт.

32

00400231

HYD CONNECTOR

NIPPLE

1шт.

33

FM116040

BOLT

8шт.

34

00601558

BOLT

3шт.

35

00605829

WASHER

3шт.

36

00605797

NUT

3шт.

Выбрано товаров: 37