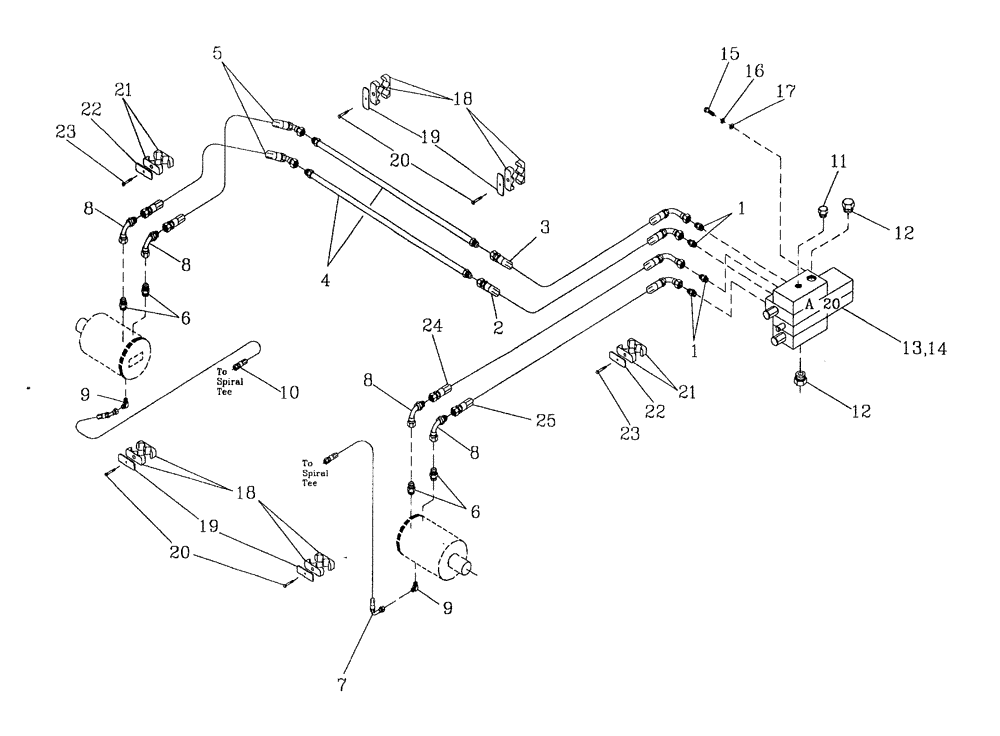
Запчасти Case IH 7700 (B09[10]) - HYDRAULIC CIRCUIT {SIDETRIM KNIVES} Hydraulic Components & Circuits

Схема запчастей Case IH 7700 - (B09[10]) - HYDRAULIC CIRCUIT {SIDETRIM KNIVES} Hydraulic Components & Circuits
8
14
20
4
3
8
19
10
18
16
8
17
11
21
13
25
9
24
22
23
12
7
15
22
2
1
23
1
20
6
9
8
18
5
19
12
6
21
FIT
1:1
100%

Артикул

Название

Примечание

Количество

1

00400230

HYD CONNECTOR

NIPPLE

4шт.

2

86308586

HOSE ASSY.

1шт.

3

87214292

HOSE ASSY.

1шт.

4

87248206

TUBE,16 mm OD x 1100 mm L

2шт.

5

87256250

HOSE

2шт.

6

00400228

HYD CONNECTOR

NIPPLE

4шт.

7

87238290

HOSE

1шт.

8

00407516

HYD CONNECTOR

BEND

4шт.

9

00405242

HYD CONNECTOR

ELBOW

2шт.

10

87255998

HOSE,6.35mm ID x 1670mm L, SAE 100R17

HOSE

1шт.

11

00401873

HYD CONNECTOR

PLUG

1шт.

12

00400258

HYD CONNECTOR

PLUG

2шт.

13

HYDRAULIC VALVE electric

1шт.

Refer Figure B05.03

1шт.

14

HYDRAULIC VALVE manual

1шт.

Refer Figure B05.04

1шт.

15

FA110095

BOLT

3шт.

16

WB100000

WASHER

3шт.

17

WA100000

WASHER

3шт.

18

00405073

CLAMP

4шт.

19

00405221

COVER PLATE

4шт.

20

FA108035

BOLT

4шт.

21

00405072

CLAMP

2шт.

22

00405228

COVER PLATE

2шт.

23

FA108045

BOLT

2шт.

24

87255999

HOSE

1шт.

25

86302744

HOSE

1шт.

Выбрано товаров: 27