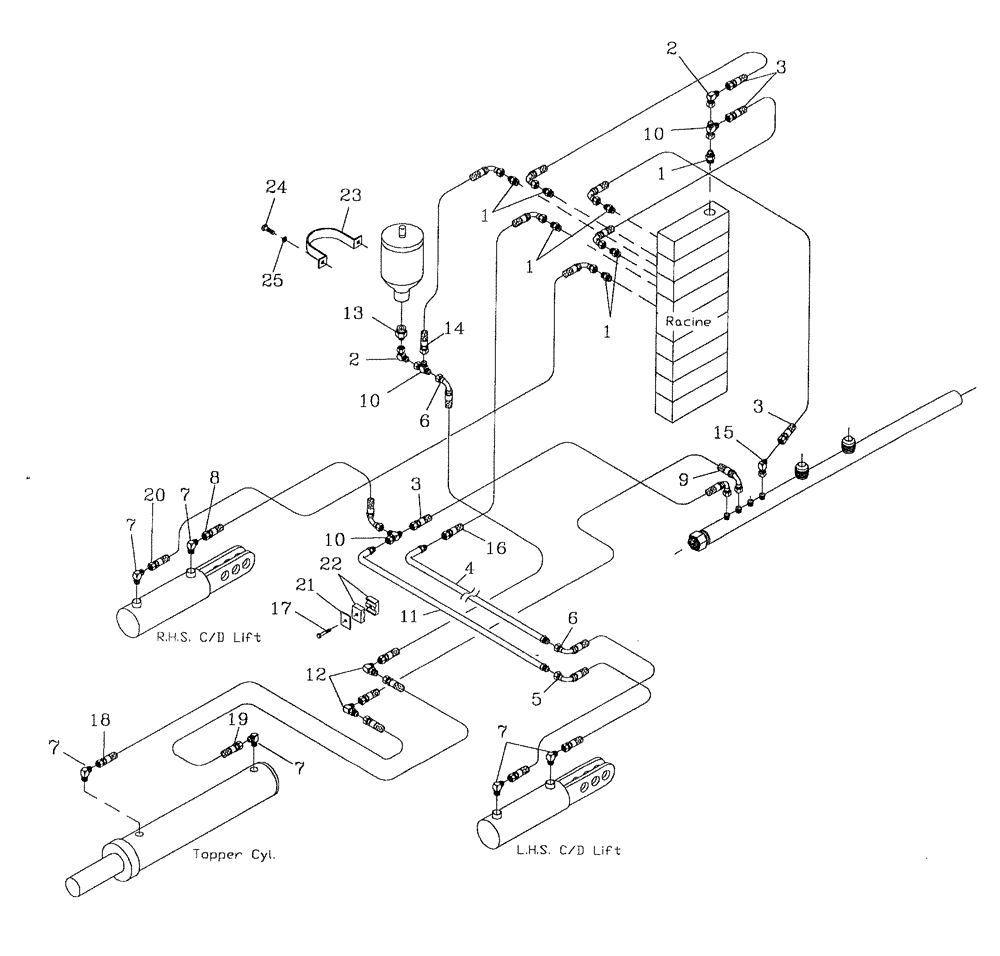
Запчасти Case IH 7700 (B11[02]) - HYDRAULIC CIRCUIT {TOPPER AND CROPDIVIDER LIFT} {RACINE} Hydraulic Components & Circuits

Схема запчастей Case IH 7700 - (B11[02]) - HYDRAULIC CIRCUIT {TOPPER AND CROPDIVIDER LIFT} {RACINE} Hydraulic Components & Circuits
9
2
10
8
18
10
1
23
1
6
5
10
25
22
16
15
14
2
20
12
11
6
1
21
7
19
7
24
4
17
3
7
7
3
13
7
1
3
FIT
1:1
100%

Артикул

Название

Примечание

Количество

1

00400074

HYD CONNECTOR

NIPPLE

7шт.

2

00402879

HYD CONNECTOR

ELBOW

2шт.

3

82704900

HOSE,6.35mm ID x 530mm L, SAE 100R17

4шт.

4

87254497

TUBE,9.50 mm DIA

TUBE

1шт.

5

87238348

HOSE,6.35mm ID x 1270mm L, SAE 100R17

HOSE

1шт.

6

79100295

CONTROL VALVE

HOSE

2шт.

7

00400189

HYD CONNECTOR

ELBOW

6шт.

8

87234644

HOSE ASSY.

1шт.

9

87217477

HOSE ASSY.

HOSE

1шт.

10

00404677

TEE

3шт.

11

87254498

TUBE,9.50 mm DIA

TUBE

1шт.

12

00404781

HYD CONNECTOR

ELBOW

2шт.

13

00404765

HYD CONNECTOR

NIPPLE

1шт.

14

86327600

HOSE ASSY.

1шт.

15

00405173

HYD CONNECTOR

ELBOW

1шт.

16

81678000

HOSE ASSY.

1шт.

17

FA106035

BOLT

2шт.

18

87239097

HOSE

1шт.

19

81677900

HOSE ASSY.,6.35 mm ID x 760.00 mm, SAE 100R17

1шт.

20

87216960

HOSE

HOSE

1шт.

21

00408517

COVER PLATE

2шт.

22

00408516

CLAMP

2шт.

23

87238019

BRACKET

1шт.

24

FA108016

BOLT

2шт.

25

WB080000

WASHER

2шт.

Выбрано товаров: 25