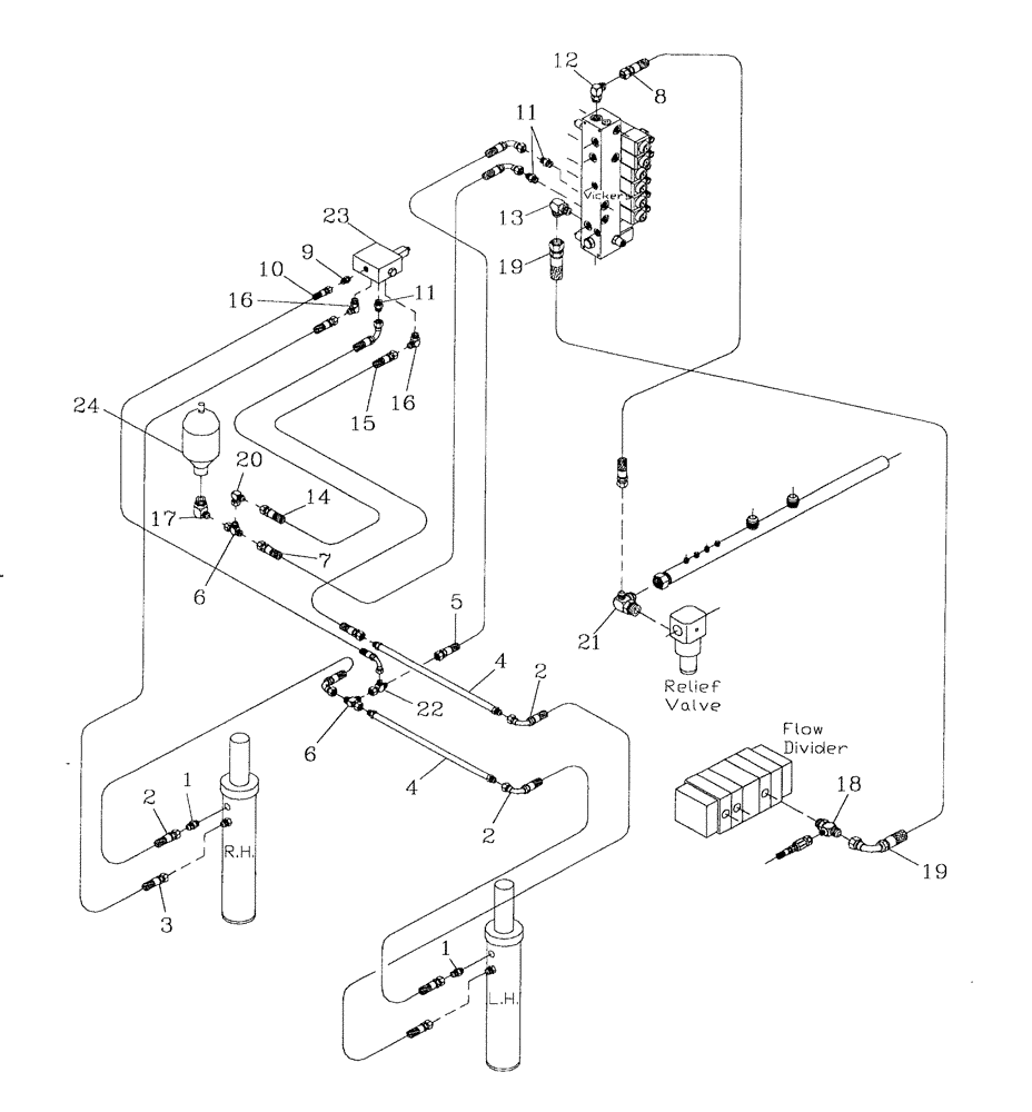
Запчасти Case IH 7700 (B11[07]) - HYDRAULIC CIRCUIT {BASECUTTER LIFT/STABILITY KIT} Hydraulic Components & Circuits

Схема запчастей Case IH 7700 - (B11[07]) - HYDRAULIC CIRCUIT {BASECUTTER LIFT/STABILITY KIT} Hydraulic Components & Circuits
21
20
6
17
1
19
23
13
24
2
12
4
16
8
4
2
11
16
14
3
7
18
5
11
6
19
10
9
1
15
22
2
FIT
1:1
100%

Артикул

Название

Примечание

Количество

1

00400165

HYD CONNECTOR

NIPPLE

2шт.

2

86313838

HOSE ASSY.

3шт.

3

374255A1

HOSE

1шт.

4

87248208

TUBE,9.70 mm ID x 12.70 mm OD x 1000 mm L

2шт.

5

87256256

HOSE ASSY.

1шт.

6

00404787

TEE

2шт.

7

374256A1

HOSE,9.53mm ID x 1140mm L, SAE 100R17

HOSE

1шт.

8

87242175

HOSE,12.7mm ID x 720mm L, SAE 100R17

1шт.

9

00400223

HYD CONNECTOR

NIPPLE

1шт.

10

87225586

HOSE ASSY.

1шт.

11

00400093

HYD CONNECTOR

NIPPLE

3шт.

12

00400242

HYD CONNECTOR

ELBOW

1шт.

13

00400243

HYD CONNECTOR

ELBOW

1шт.

14

374259A1

HOSE

1шт.

15

374261A1

HOSE

1шт.

16

00400240

HYD CONNECTOR

ELBOW

2шт.

17

00409603

ELBOW

1шт.

18

00408639

TEE

1шт.

19

87255572

HOSE,19.05mm ID x 1950mm L, SAE 100R16

HOSE

1шт.

20

00405078

HYD CONNECTOR

ELBOW

1шт.

21

86310816

HYD CONNECTOR

TEE

1шт.

22

00408682

TEE

1шт.

23

VALVE hydraulic counterbalance

1шт.

Refer Figure B05.02

1шт.

24

ACCUMULATOR

1шт.

Refer Figure B05.20

1шт.

Выбрано товаров: 26