Запчасти Case IH 7700 (B13[02]) - HYDRAULIC CIRCUIT {AIR CONDITIONER} Hydraulic Components & Circuits

Схема запчастей Case IH 7700 - (B13[02]) - HYDRAULIC CIRCUIT {AIR CONDITIONER} Hydraulic Components & Circuits
9
5
3
4
4
12
13
16
10
1
1
16
1
5
15
7
14
11
6
4
2
13
15
17
4
21
18
20
19
8
5
FIT
1:1
100%

Артикул

Название

Примечание

Количество

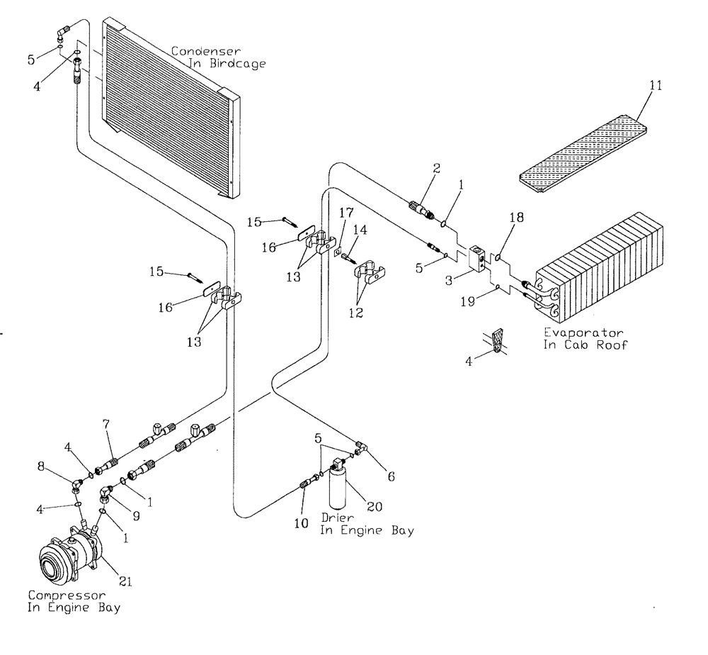
1

00181115

O-RING

3шт.

2

395839A1

HOSE

1шт.

3

1990756C2

VALVE

expansion

1шт.

4

193111A2

GROMMET

1шт.

5

00181089

O-RING

4шт.

6

395841A1

HOSE

1шт.

7

87243308

HOSE

1шт.

8

00409297

ELBOW

1шт.

9

00409298

ELBOW

1шт.

10

87242711

HOSE

1шт.

11

222385A1

SEAL

1шт.

12

00409579

CLAMP

2шт.

13

00409581

CLAMP

6шт.

14

00405236

BOLT

stacking

2шт.

15

FA108045

BOLT

6шт.

16

00405228

COVER PLATE

6шт.

17

00405229

LOCKING DEVICE

PLATE

2шт.

18

128485A1

O-RING,1.78mm Thk x 14mm ID, 70 Duro

1шт.

19

128484A1

O-RING,0.07" Thk x 0.426" ID, -13, Cl 5, 70 Duro

1шт.

20

00180726

RECEIVER-DRYER

1шт.

21

AIR CONDITIONER COMPRESSOR

1шт.

Refer Figure A13.08

1шт.

Выбрано товаров: 22