Запчасти Case IH 7700 (C01[15]) - REMOTE OIL FILTER {6CT} Engine & Engine Attachments

Схема запчастей Case IH 7700 - (C01[15]) - REMOTE OIL FILTER {6CT} Engine & Engine Attachments
11
17
6
5
12
8
7
5
14
2
15
4
9
3
13
14
1
10
18
13
16
12
FIT
1:1
100%

Артикул

Название

Примечание

Количество

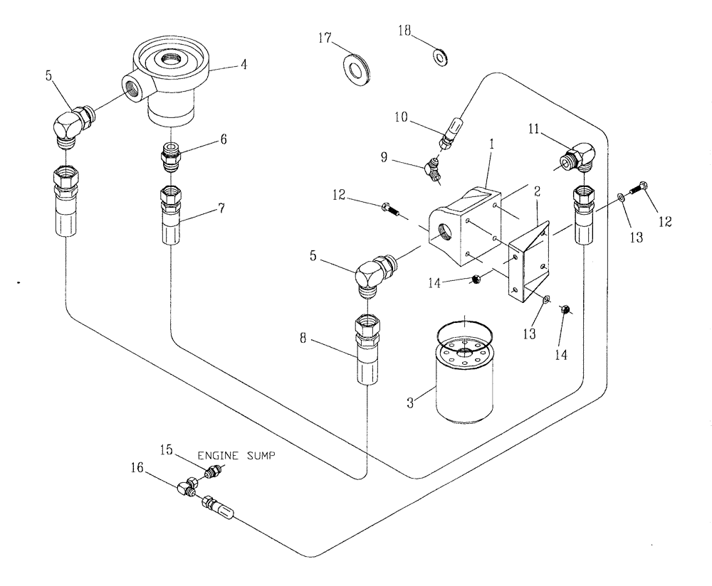
1

395596A1

HEAD

1шт.

2

395722A1

MOUNTING PARTS

1шт.

3

J919562

ENGINE OIL FILTER

CARTRIDGE

1шт.

4

395595A1

ADAPTER

1шт.

5

398335A1

HYD CONNECTOR

ELBOW

2шт.

6

00400234

HYD CONNECTOR

NIPPLE

1шт.

7

397906A1

HOSE

1шт.

8

397905A1

HOSE

1шт.

9

00400192

HYD CONNECTOR

ELBOW

1шт.

10

82719300

HOSE

1шт.

11

00400097

HYD CONNECTOR

ELBOW

1шт.

12

FA110025

BOLT

6шт.

13

WA100000

WASHER

6шт.

14

NC110000

NUT

6шт.

15

398068A1

HYD CONNECTOR

NIPPLE

1шт.

16

00405078

HYD CONNECTOR

ELBOW

1шт.

17

00180793

GROMMET

1шт.

18

00137164

GROMMET

1шт.

Выбрано товаров: 18