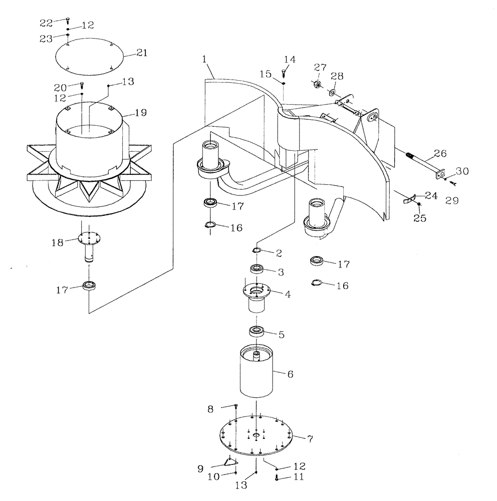
Запчасти Case IH 7700 (A02[02]) - STANDARD TOPPER AND GATHERING DRUMS Mainframe & Functioning Components

Схема запчастей Case IH 7700 - (A02[02]) - STANDARD TOPPER AND GATHERING DRUMS Mainframe & Functioning Components
14
30
16
22
15
20
26
23
17
29
12
9
17
16
5
2
12
17
7
28
6
18
11
13
24
1
12
27
3
19
21
8
10
4
13
25
FIT
1:1
100%

Артикул

Название

Примечание

Количество

1

54000444

FRAME ASSY

1шт.

2

CE040000

CIRCLIP

1шт.

3

00144080

BALL BEARING

1шт.

4

87229324

BEARING HOUSING,80 mm ID x 155 mm

1шт.

5

00144124

BALL BEARING

1шт.

6

87220349

DRUM

severing

1шт.

7

87054700

DISC

1шт.

8

00605373

SCREW

16шт.

9

87255696

KNIFE

8шт.

10

00605998

LOCK NUT

16шт.

11

00601504

BOLT

6шт.

12

00605827

WASHER

26шт.

13

00133951

LUBE NIPPLE

grease

3шт.

14

00601506

BOLT

4шт.

15

00605829

WASHER

4шт.

16

CE050000

CIRCLIP

2шт.

17

00144079

BALL BEARING

4шт.

18

86405400

SHAFT

SPIGOT

2шт.

19

87220421

DRUM

gathering

2шт.

20

00601499

BOLT

12шт.

21

87234739

PLATE

cover

2шт.

22

00601495

BOLT

8шт.

23

00608041

WASHER

8шт.

24

82029900

BRACKET

2шт.

25

00605999

LOCK NUT

2шт.

26

83048300

PIN,25.4mm OD x 313mm L

2шт.

27

00606020

LOCK NUT

2шт.

28

00605814

WASHER

2шт.

29

FM110020

BOLT

2шт.

30

WB100000

WASHER

2шт.

Выбрано товаров: 30