Запчасти Case IH 7700 (A07[01]) - EXTRACTOR FAN (SECONDARY) Mainframe & Functioning Components

Схема запчастей Case IH 7700 - (A07[01]) - EXTRACTOR FAN (SECONDARY) Mainframe & Functioning Components
12
1
10
9
8
3
7
5
9
6
11
2
4
FIT
1:1
100%

Артикул

Название

Примечание

Количество

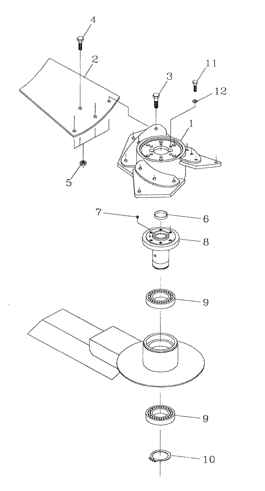
1

87240269

HUB

1шт.

2

87231810

SET OF BLADES

1шт.

3

00601584

BOLT

9шт.

4

00601579

BOLT

3шт.

5

00605803

NUT

12шт.

6

00132819

PLUG

1шт.

7

00153751

LUBE NIPPLE

grease

1шт.

8

86304126

SPLINED COUPLING

1шт.

9

00140309

BALL BEARING

2шт.

10

CE055000

CIRCLIP

1шт.

11

00601499

BOLT

6шт.

12

00605827

WASHER

6шт.

Выбрано товаров: 12