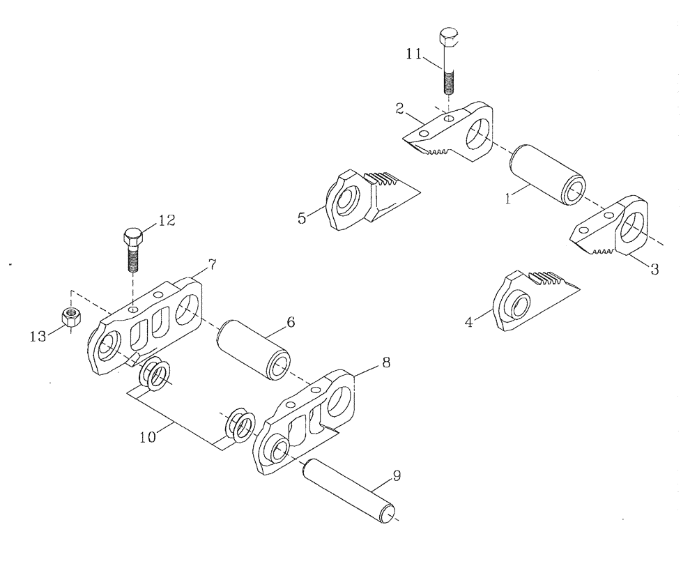
Запчасти Case IH 7700 (A10[06]) - TRACK CHAIN LINKS Mainframe & Functioning Components

Схема запчастей Case IH 7700 - (A10[06]) - TRACK CHAIN LINKS Mainframe & Functioning Components
6
7
3
4
5
8
9
13
11
1
2
10
12
FIT
1:1
100%

Артикул

Название

Примечание

Количество

1

00131444

BUSHING

1шт.

2

00139733

TRACK LINK

half, R.H., bush end

1шт.

3

00139734

TRACK LINK

half, L.H., bush end

1шт.

4

00139732

TRACK LINK

half, L.H., pin end

1шт.

5

00139731

TRACK LINK

half, R.H., pin end

1шт.

6

00131440

BUSHING

BUSH

1шт.

7

00131434

CONNECTING LINK

R.H.

1шт.

8

00131435

CONNECTING LINK

L.H.

1шт.

9

00131439

PIN

1шт.

10

00131403

SEAL

4шт.

11

00139562

BOLT

4шт.

12

00131438

BOLT

4шт.

13

00131437

NUT

4шт.

Выбрано товаров: 13