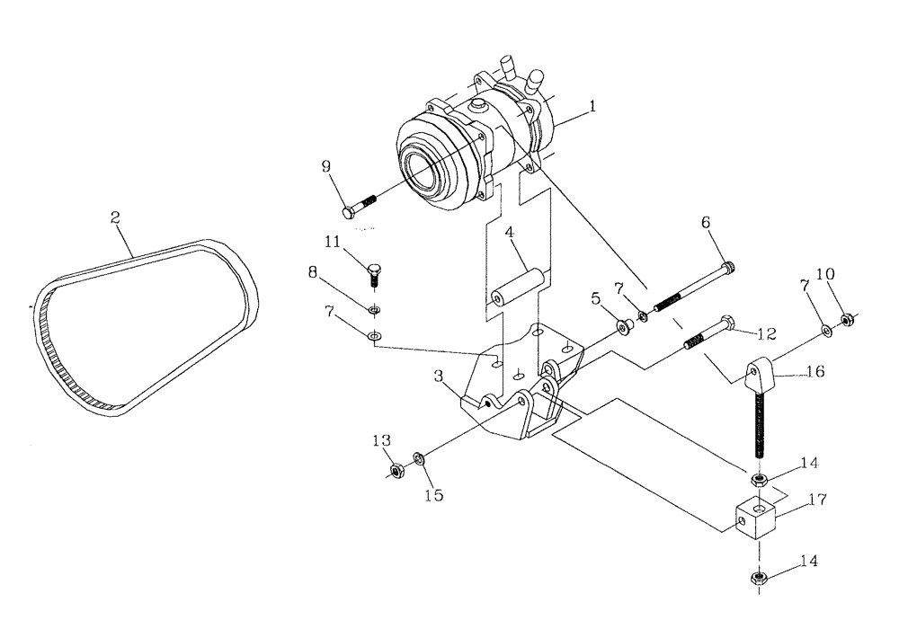
Запчасти Case IH 7700 (A13[05]) - AIR CONDITIONER COMPRESSOR/ MOUNT/ BELT {6CT} Mainframe & Functioning Components

Схема запчастей Case IH 7700 - (A13[05]) - AIR CONDITIONER COMPRESSOR/ MOUNT/ BELT {6CT} Mainframe & Functioning Components
15
4
16
8
9
12
10
7
13
11
7
17
1
3
6
14
14
5
7
2
FIT
1:1
100%

Артикул

Название

Примечание

Количество

1

00181083

AIRCOND. COMPRESSOR

1шт.

2

00154223

BELT

V

1шт.

3

87229625

MOUNTING PARTS

1шт.

4

87235497

BUSHING,10.3mm ID x 25.4mm OD x 83.3mm L

SPACER

1шт.

5

87235498

SPACER

1шт.

6

FC110140

SCREW,M10 x 1.5 x 140mm

1шт.

7

WA100000

WASHER

6шт.

8

WB100000

WASHER

4шт.

9

FA110050

BOLT

1шт.

10

NC110000

NUT

1шт.

11

FA110020

BOLT

4шт.

12

FA112080

BOLT

1шт.

13

NA112000

NUT

1шт.

14

NA116000

NUT

2шт.

15

WB120000

WASHER

1шт.

16

87237012

ADJUSTMENT SCREW,150mm L

BOLT

1шт.

17

87237016

BLOCK

1шт.

Выбрано товаров: 17