Запчасти Case IH 7700 (C05[03]) - ENGINE MOUNTS {6CT} Engine & Engine Attachments

Схема запчастей Case IH 7700 - (C05[03]) - ENGINE MOUNTS {6CT} Engine & Engine Attachments
12
17
15
19
4
14
18
20
21
5
13
11
3
1
6
16
2
14
FIT
1:1
100%

Артикул

Название

Примечание

Количество

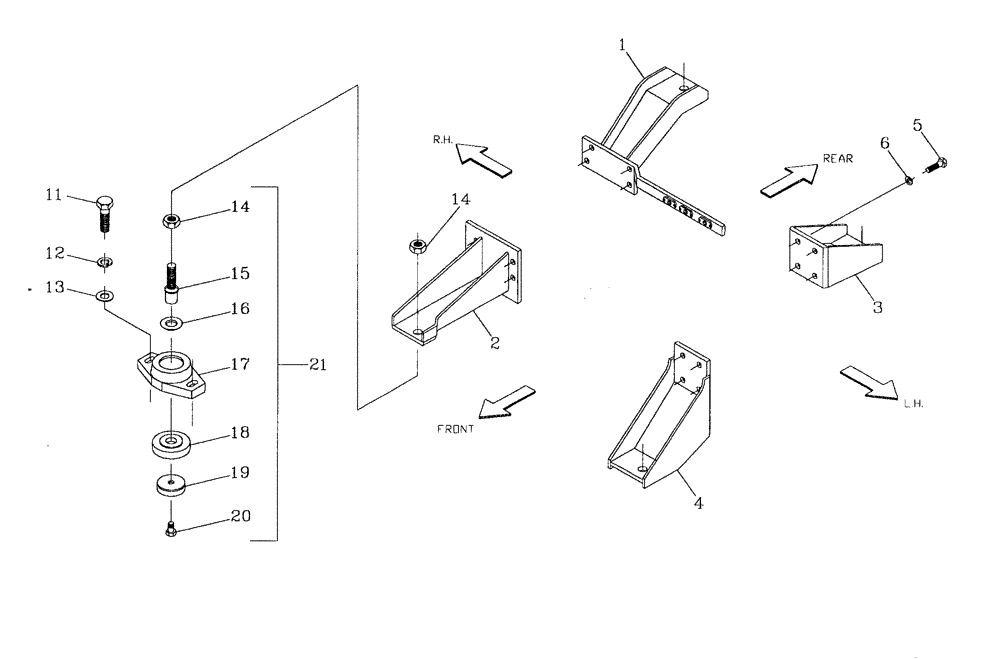
1

384581A1

MOUNTING PARTS

MOUNT rear, R.H.

1шт.

2

384578A1

MOUNTING PARTS

MOUNT front, R.H.

1шт.

3

384580A1

MOUNTING PARTS

MOUNT rear, L.H.

1шт.

4

384579A1

MOUNTING PARTS

MOUNT front, L.H.

1шт.

5

FM112030

BOLT

16шт.

6

WB120000

WASHER

16шт.

11

FM112045

BOLT

8шт.

12

WB120000

WASHER

8шт.

13

00135789

WASHER

8шт.

14

00606250

NUT

8шт.

15

87217397

PIN,19.05mm OD x 95mm L

4шт.

16

87217400

WASHER

4шт.

17

87217410

HOUSING

HOUSING

4шт.

18

87217403

DISC

4шт.

19

87217402

WASHER

4шт.

20

00606755

BOLT

4шт.

21

87217404

MOUNTING PARTS

ASSEMBLY

4шт.

Выбрано товаров: 17