Запчасти Case IH 7700 (B03[06]) - HYDRAULIC MOTOR S CHAR-LYNN: 14 CU. IN. Hydraulic Components & Circuits

Схема запчастей Case IH 7700 - (B03[06]) - HYDRAULIC MOTOR S CHAR-LYNN: 14 CU. IN. Hydraulic Components & Circuits
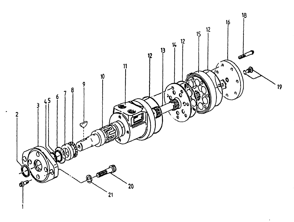
14
16
1
7
20
8
15
12
3
9
12
6
12
10
2
13
18
19
21
4
5
11
FIT
1:1
100%

Артикул

Название

Примечание

Количество

1

00101603

CAPSCREW

4шт.

2

00403595

SEAL

1шт.

3

00407068

FLANGE

1шт.

4

00407078

SHIM,26.899mm ID x 36.6mm OD x 0.46mm Thk

RING

1шт.

5

00407070

SEAL

1шт.

6

00404158

O-RING

1шт.

7

00403598

BEARING

1шт.

8

00403599

BEARING

1шт.

9

00101389

KEY

1шт.

10

00403600

SHAFT

1шт.

11

00404159

HOUSING

1шт.

12

00404161

O-RING

3шт.

13

00407739

DRIVE SHAFT

1шт.

14

00404160

PLATE

1шт.

15

00407740

GEROTOR

1шт.

16

00404174

CAP

END

1шт.

18

00101732

CAPSCREW

7шт.

19

00404175

PLUG

1шт.

20

FC112035

SCREW,M12 x 1.75 x 35mm

2шт.

21

WB100000

WASHER

2шт.

22

00407738

SEAL KIT

1шт.

23

00404353

HYDRAULIC MOTOR

ASSEMBLY

1шт.

Выбрано товаров: 22