Запчасти Case IH 7700 (B06[01]) - HYDRAULIC SUCTION LINES Hydraulic Components & Circuits

Схема запчастей Case IH 7700 - (B06[01]) - HYDRAULIC SUCTION LINES Hydraulic Components & Circuits
10
8
6
8
4
1
5
5
3
7
4
2
1
5
4
4
4
10
7
4
9
4
6
2
5
FIT
1:1
100%

Артикул

Название

Примечание

Количество

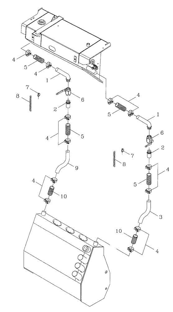
1

87240492

TUBE,50.80 mm OD x 260 mm L

TUBE

2шт.

2

86314466

HYD CONNECTOR,50.80 mm OD x 90 mm L

Tube

2шт.

3

87240493

TUBE,47.80 mm ID x 50.80 mm OD

[LH]

1шт.

4

00181813

HOSE CLAMP

12шт.

5

83130600

HOSE,50.8mm ID x 152mm L, SAE J20R1

4шт.

6

87240531

HYDRAULIC VALVE

Ball

2шт.

7

00606627

PIN

Lynch

2шт.

8

87240807

CHAIN,Assembly, Incl Lynch Pin

CHAIN

2шт.

9

87240494

TUBE,47.80 mm ID x 50.80 mm OD

[RH]

1шт.

10

87217697

HOSE,50.80 mm ID x 115 mm

2шт.

Выбрано товаров: 10