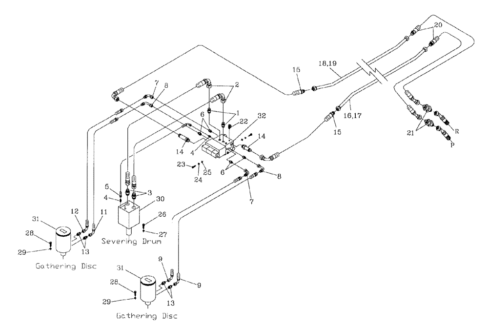
Запчасти Case IH 7700 (B09[02]) - HYDRAULIC CIRCUIT,SHREDDER TOPPER Hydraulic Components & Circuits

Схема запчастей Case IH 7700 - (B09[02]) - HYDRAULIC CIRCUIT,  SHREDDER TOPPER Hydraulic Components & Circuits
17
22
27
31
31
14
15
23
25
24
9
29
5
4
3
6
14
6
11
30
21
32
7
4
26
15
28
29
9
19
7
20
13
1
16
12
18
13
2
8
28
8
FIT
1:1
100%

Артикул

Название

Примечание

Количество

1

00400232

HYD CONNECTOR

Nipple

2шт.

2

87254573

HOSE

2шт.

3

00400234

HYD CONNECTOR

Nipple

2шт.

4

00400223

HYD CONNECTOR

Nipple

2шт.

5

86313828

HOSE ASSY.

HOSE

1шт.

6

00400226

HYD CONNECTOR

Nipple

4шт.

7

00407516

HYD CONNECTOR

Bend

2шт.

8

86333900

90 ELBOW

BEND

2шт.

9

87225806

HYDRAULIC HOSE

1шт.

11

86302419

HOSE,12.7mm ID x 1480mm L, SAE 100R16

HOSE

1шт.

12

87244021

HOSE

1шт.

13

00400228

HYD CONNECTOR

Nipple

4шт.

14

00409816

ADAPTER

Nipple

2шт.

15

87254005

HOSE ASSY.

2шт.

16

87254264

TUBE,21.40 mm ID x 25.40 mm OD

LH Std. Length

1шт.

17

87254293

TUBE,25.40 mm OD

LH Ext. Length

1шт.

18

87254265

TUBE,25.40 mm DIA

RH Std. Length

1шт.

19

87254294

TUBE,25.40 mm OD

RH Ext. Length

1шт.

20

87256259

HOSE ASSY.

2шт.

21

00400067

HYD CONNECTOR

B/H Nipple

2шт.

22

00405498

SCREW ON COUPLING

Test Point

1шт.

23

FC110020

SCREW,M10 x 1.5 x 20mm

3шт.

24

WB100000

WASHER

3шт.

25

WA100000

WASHER

3шт.

26

00604536

SCREW

Bolt

4шт.

27

00605829

WASHER

4шт.

28

FC112035

SCREW,M12 x 1.75 x 35mm

4шт.

29

WB120000

WASHER

4шт.

30

HYDRAULIC MOTOR Refer Figure B03

1шт.

07

1шт.

31

HYDRAULIC MOTOR Refer Figure B03 (06}

1шт.

32

HYDRAULIC VALVE Refer Figure B05 (13}

1шт.

Выбрано товаров: 32