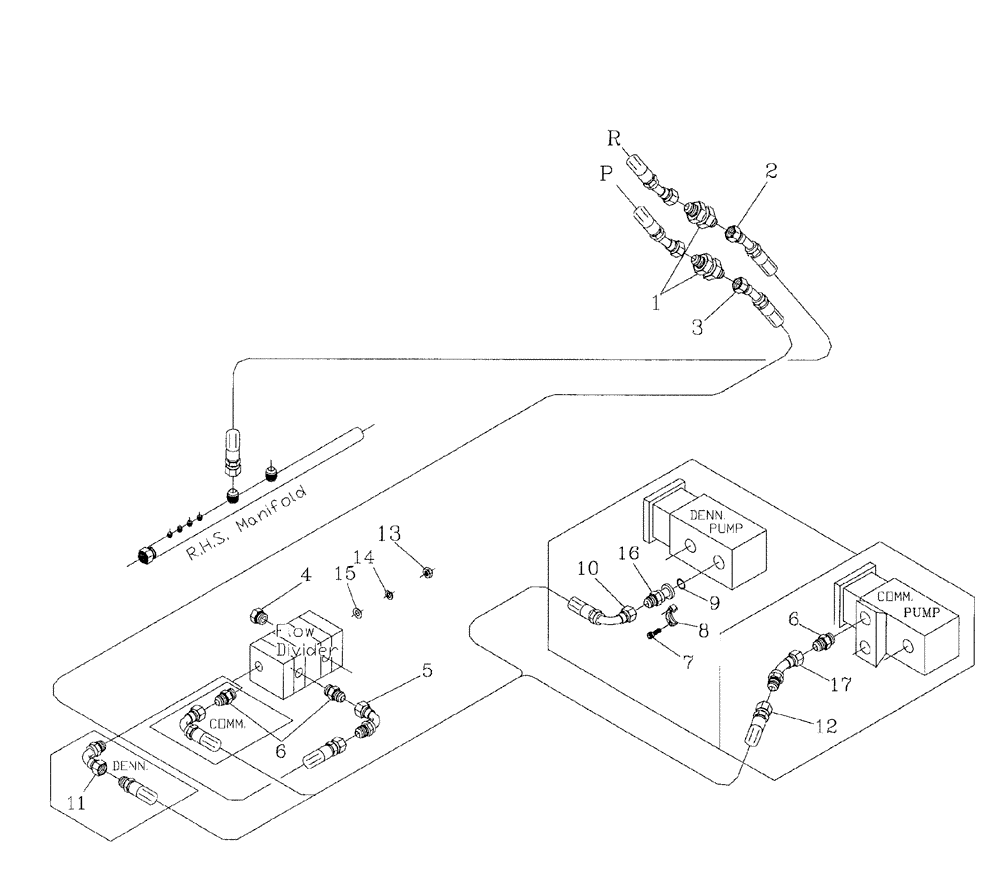
Запчасти Case IH 7700 (B09[08]) - HYDRAULIC CIRCUIT,STANDARD TOPPER W/OUT SIDETRIM, LOW HORSEPOWER Hydraulic Components & Circuits

Схема запчастей Case IH 7700 - (B09[08]) - HYDRAULIC CIRCUIT,  STANDARD TOPPER W/OUT SIDETRIM, LOW HORSEPOWER Hydraulic Components & Circuits
13
11
8
6
5
3
6
17
4
16
2
9
12
7
15
10
14
1
FIT
1:1
100%

Артикул

Название

Примечание

Количество

1

00400067

HYD CONNECTOR

Nipple

2шт.

2

87254533

HOSE,25.4mm ID x 1800mm L, SAE 100R17

HOSE

1шт.

3

83129000

HOSE ASSY.

1шт.

4

00400258

HYD CONNECTOR

Plug

1шт.

5

00403944

HYD CONNECTOR

Bend

1шт.

6

00400234

HYD CONNECTOR

Nipple

2шт.

7

00604462

SCREW

4шт.

8

00400151

SPECIAL CLAMP

1шт.

9

00100024

O-RING

1шт.

10

87254005

HOSE ASSY.

1шт.

11

00409889

HYD CONNECTOR

Bend

1шт.

12

86305946

HOSE

1шт.

13

00605798

NUT

4шт.

14

00605831

WASHER

4шт.

15

00605811

WASHER

4шт.

16

00409602

HYD CONNECTOR

Adaptor

1шт.

17

00407240

HYD CONNECTOR

Bend

1шт.

Выбрано товаров: 17