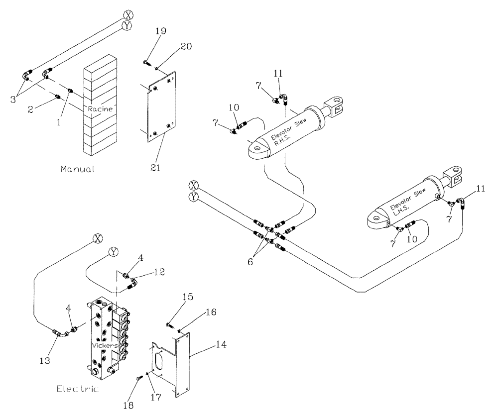
Запчасти Case IH 7700 (B10[04]) - HYDRAULIC CIRCUIT,ELEVATOR SLEW Hydraulic Components & Circuits

Схема запчастей Case IH 7700 - (B10[04]) - HYDRAULIC CIRCUIT,  ELEVATOR SLEW Hydraulic Components & Circuits
18
7
4
11
1
17
7
3
11
7
6
15
7
10
14
4
12
21
19
10
2
16
20
13
FIT
1:1
100%

Артикул

Название

Примечание

Количество

1

00400074

HYD CONNECTOR

Nipple

1шт.

2

87213953

HYD CONNECTOR

Nipple

1шт.

3

87224514

HYDRAULIC HOSE

2шт.

4

00400224

HYD CONNECTOR

Nipple

2шт.

6

00408873

TEE

TEE

2шт.

7

00400189

HYD CONNECTOR

Elbow

4шт.

10

81675600

HOSE

2шт.

11

86310227

HOSE ASSY.

2шт.

12

87256269

HOSE

HOSE

1шт.

13

87225790

HYDRAULIC HOSE

1шт.

14

87254461

CLAMP BRACKET

Mount

1шт.

15

FA110020

BOLT

4шт.

16

WB100000

WASHER

4шт.

17

WB080000

WASHER

4шт.

18

FA108016

BOLT

4шт.

19

00601504

BOLT

4шт.

20

00605827

WASHER

4шт.

21

87198300

MOUNT

1шт.

Выбрано товаров: 18