Запчасти Case IH 7700 (B14[02]) - OIL FILTERS AND STRAINERS Hydraulic Components & Circuits

Схема запчастей Case IH 7700 - (B14[02]) - OIL FILTERS AND STRAINERS Hydraulic Components & Circuits
10
8
1
9
16
2
4
3
11
14
15
6
13
17
5
7
12
FIT
1:1
100%

Артикул

Название

Примечание

Количество

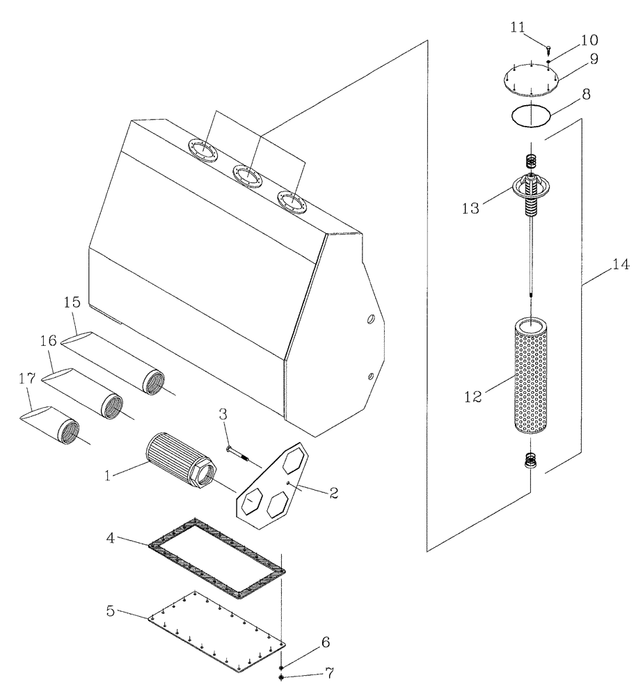
1

00410211

HYDRAULIC OIL FILTER

Strainer, Commercial

3шт.

2

87239681

PLATE

1шт.

3

87232852

ASSEMBLY

BOLT

1шт.

4

87239686

GASKET

1шт.

5

87239685

COVER

COVER

1шт.

6

WB100000

WASHER

22шт.

7

NA110000

NUT

22шт.

8

00100139

O-RING

3шт.

9

87231716

COVER ASSY

3шт.

10

WB080000

WASHER

24шт.

11

FA108016

BOLT

24шт.

12

00408454

HYDRAULIC OIL FILTER

Element

3шт.

13

00409952

INSERT

Insert

3шт.

14

00408861

SEAL ASSY.

1шт.

14

00408862

O-RING

1шт.

14

00408453

ELEMENT

Oil, Assembly

3шт.

15

87255264

TUBE

Denison

1шт.

16

87255267

TUBE

Denison

1шт.

17

87255269

TUBE

Denison

1шт.

Выбрано товаров: 19