Запчасти Case IH 7700 (C02[10]) - REMOTE OIL COOLER SCREEN Engine & Engine Attachments

Схема запчастей Case IH 7700 - (C02[10]) - REMOTE OIL COOLER SCREEN Engine & Engine Attachments
6
8
10
3
2
5
9
7
1
4
11
FIT
1:1
100%

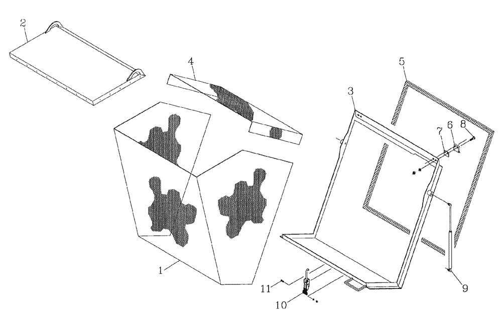
Артикул

Название

Примечание

Количество

1

87248233

SCREEN

Mesh

1шт.

2

87248232

ROOF FRAME

Top

1шт.

3

87248229

FRAME

Base

1шт.

4

87248234

SCREEN

Mesh

1шт.

5

00136175

RUBBER WEATHERSTRIP

1шт.

6

87229919

LUG

Hinge

2шт.

7

87237480

SHIM,35mm OD x 3mm Thk

6шт.

8

FA110040

BOLT

4шт.

9

00181851

GAS STRUT

2шт.

10

00608187

LATCH ASSY.

1шт.

11

FA106020

BOLT

2шт.

12

87248230

SCREEN

Assembly

1шт.

Выбрано товаров: 12