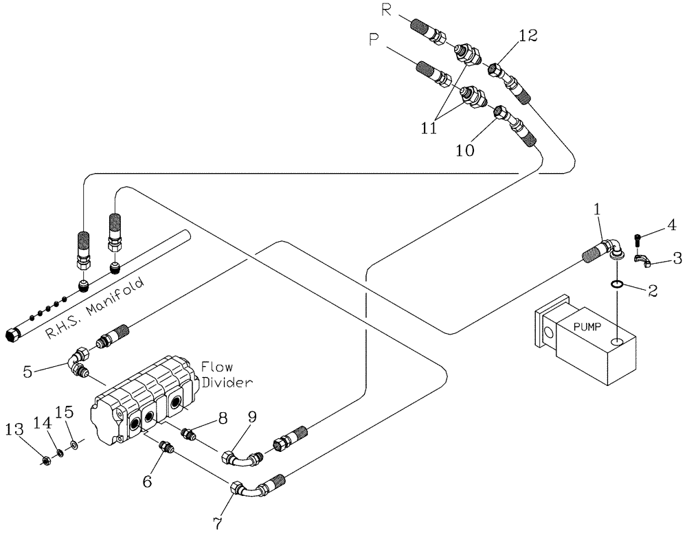
Запчасти Case IH 7700 (B09[04]) - HYDRAULIC CIRCUIT {Standard Topper without Sidetrim} {High Horsepower} Hydraulic Components & Circuits

Схема запчастей Case IH 7700 - (B09[04]) - HYDRAULIC CIRCUIT {Standard Topper without Sidetrim} {High Horsepower} Hydraulic Components & Circuits
1
14
7
13
9
5
4
6
11
15
10
3
2
8
12
FIT
1:1
100%

Артикул

Название

Примечание

Количество

1

87421570

HOSE,25.4mm ID x 750mm L, SAE 100R16

HOSE

1шт.

2

00100024

O-RING

1шт.

3

00400151

SPECIAL CLAMP

Pair

1шт.

4

00604461

SCREW

4шт.

5

00409889

HYD CONNECTOR

Bend

1шт.

6

00400234

HYD CONNECTOR

Nipple

2шт.

7

86314671

HOSE

1шт.

8

00400232

HYD CONNECTOR

Nipple

1шт.

9

00403944

HYD CONNECTOR

Bend

1шт.

10

82720600

HOSE,25.4mm ID x 1170mm L, SAE 100R17

HOSE

1шт.

11

00400067

HYD CONNECTOR

B/H Nipple

2шт.

12

87254533

HOSE,25.4mm ID x 1800mm L, SAE 100R17

HOSE

1шт.

13

00605798

NUT

4шт.

14

00605831

WASHER

4шт.

15

00605811

WASHER

4шт.

Выбрано товаров: 15