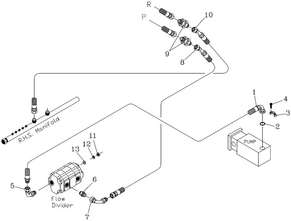
Запчасти Case IH 7700 (B09[07]) - HYDRAULIC CIRCUIT {Standard Topper without Sidetrim} {Low Horsepower} Hydraulic Components & Circuits

Схема запчастей Case IH 7700 - (B09[07]) - HYDRAULIC CIRCUIT {Standard Topper without Sidetrim} {Low Horsepower} Hydraulic Components & Circuits
2
7
12
8
11
1
10
4
13
3
5
6
9
FIT
1:1
100%

Артикул

Название

Примечание

Количество

1

87421570

HOSE,25.4mm ID x 750mm L, SAE 100R16

HOSE

1шт.

2

00100024

O-RING

1шт.

3

00400151

SPECIAL CLAMP

Pair

1шт.

4

00604461

SCREW

4шт.

5

00409889

HYD CONNECTOR

Bend

1шт.

6

00400234

HYD CONNECTOR

Nipple

2шт.

7

00403944

HYD CONNECTOR

Bend

1шт.

8

83129000

HOSE ASSY.

1шт.

9

00400067

HYD CONNECTOR

B/H Nipple

2шт.

10

87254533

HOSE,25.4mm ID x 1800mm L, SAE 100R17

HOSE

1шт.

11

00605798

NUT

4шт.

12

00605831

WASHER

4шт.

13

00605811

WASHER

4шт.

Выбрано товаров: 13