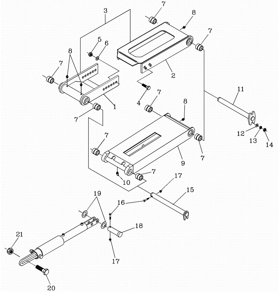
Запчасти Case IH 7700 (A03[02]) - CROPDIVIDER LIFT ARMS Mainframe & Functioning Components

Схема запчастей Case IH 7700 - (A03[02]) - CROPDIVIDER LIFT ARMS Mainframe & Functioning Components
18
7
5
21
10
7
8
7
12
2
8
17
15
9
7
16
7
8
20
11
7
6
3
7
1
14
7
13
4
19
17
FIT
1:1
100%

Артикул

Название

Примечание

Количество

1

87254779

SUPPORTING ARM

Adjustable End

2шт.

2

87237007

SUPPORTING ARM

Upper

2шт.

3

87255541

SUPPORTING ARM

Arm Assembly

2шт.

4

FA112035

BOLT

8шт.

5

NC112000

NUT

8шт.

6

WA120000

WASHER

8шт.

7

87255101

BUSHING,25.55mm ID x 31.75mm OD x 31.75mm L

8шт.

8

00138722

LUBE NIPPLE

Grease

8шт.

9

87254780

SUPPORTING ARM

Lower

2шт.

10

00180940

LUBE NIPPLE

Grease

2шт.

11

87254796

PIN,25.4mm OD x 340mm L

4шт.

12

WA100000

WASHER

8шт.

13

WB100000

WASHER

8шт.

14

NA110000

NUT

8шт.

15

87254790

PIN,25.4mm OD x 285mm L

4шт.

16

FA106035

BOLT

6шт.

17

NC106000

LOCK NUT

4шт.

18

87230605

PIN,25.4mm OD x 92mm L

2шт.

19

00605814

WASHER

4шт.

20

00606694

BOLT

2шт.

21

00606004

LOCK NUT

2шт.

Выбрано товаров: 21