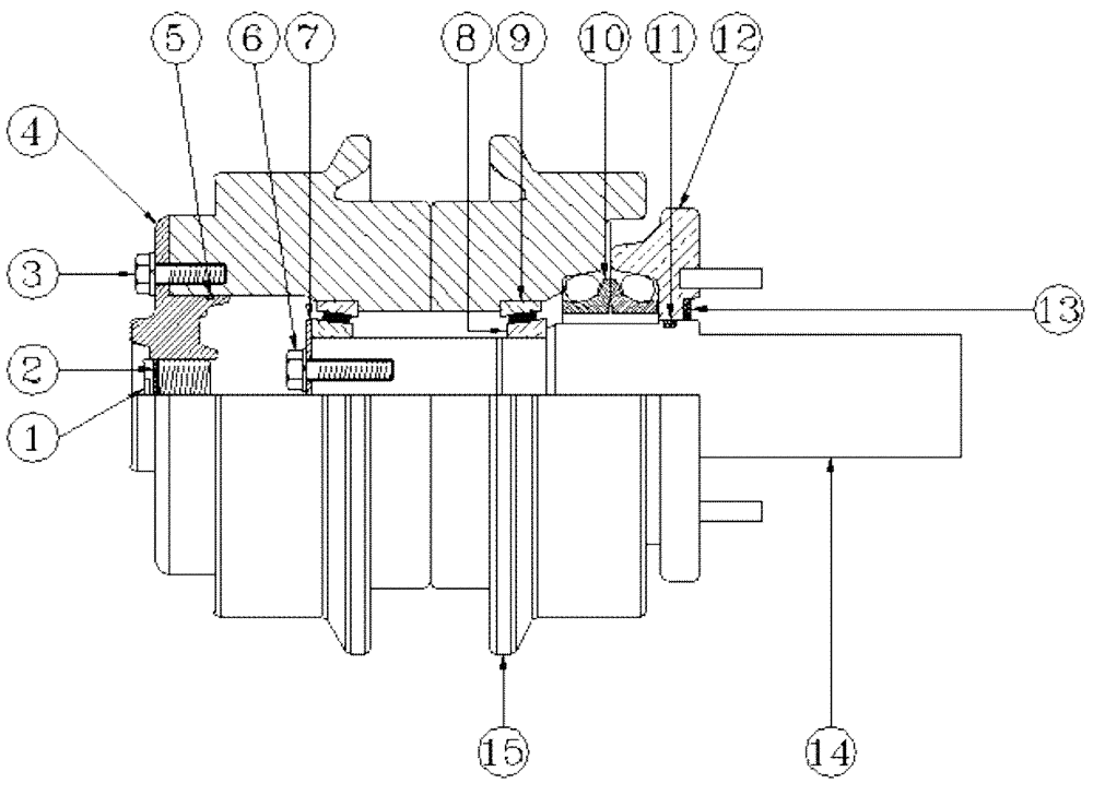
Запчасти Case IH 7700 (A10[04]) - TRACK IDLER ROLLER {7700} Mainframe & Functioning Components

Схема запчастей Case IH 7700 - (A10[04]) - TRACK IDLER ROLLER {7700} Mainframe & Functioning Components
6
3
15
1
7
10
4
12
5
13
9
11
8
2
14
FIT
1:1
100%

Артикул

Название

Примечание

Количество

1

00131457

PLUG

1шт.

2

00131458

SEAL

1шт.

3

00135344

BOLT

BOLT

3шт.

4

00133964

COVER

COVER

1шт.

5

00132426

SEAL

1шт.

6

00139739

BOLT

BOLT

2шт.

7

00139738

PLATE

PLATE

1шт.

8

00133941

BEARING

CONE

2шт.

9

00133942

BEARING

CUP

2шт.

10

00131467

SEAL

GROUP

2шт.

11

00134090

SEAL

1шт.

12

00133949

COLLAR

COLLAR

2шт.

13

00134091

RING

1шт.

14

00134101

SHAFT

1шт.

15

00133940

SHELL

ROLLER

1шт.

16

00131399

ROLLER

ASSEMBLY

2шт.

Выбрано товаров: 16