Запчасти Case IH 7700 (C05[03]) - ENGINE MOUNTS {M11/QSM11} Engine & Engine Attachments

Схема запчастей Case IH 7700 - (C05[03]) - ENGINE MOUNTS {M11/QSM11} Engine & Engine Attachments
6
15
8
12
2
7
20
5
3
10
4
17
9
2
1
19
18
13
16
11
14
18
FIT
1:1
100%

Артикул

Название

Примечание

Количество

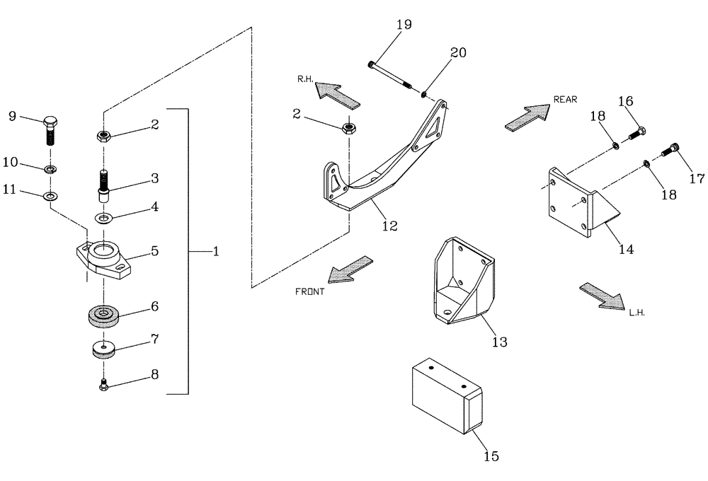
1

87217404

MOUNTING PARTS

Assembly

4шт.

2

00606250

NUT

8шт.

3

87217397

PIN,19.05mm OD x 95mm L

4шт.

4

87217400

WASHER

4шт.

5

87217410

HOUSING

HOUSING

4шт.

6

87217403

DISC

4шт.

7

87217402

WASHER

4шт.

8

00606755

BOLT

4шт.

9

FA112045

BOLT

8шт.

10

WB120000

WASHER

8шт.

11

00135789

WASHER

8шт.

12

398504A1

MOUNTING PARTS

MOUNT [RH]

1шт.

13

87230181

ENGINE MOUNT

[LH Front]

1шт.

14

87242659

ENGINE MOUNT

[LH Rear]

1шт.

15

87232150

ENGINE MOUNT

Spacer

1шт.

16

00601512

BOLT

6шт.

17

00604580

CAPSCREW

2шт.

18

00605831

WASHER

8шт.

19

FC110140

SCREW,M10 x 1.5 x 140mm

Bolt

2шт.

20

00605827

WASHER

6шт.

Выбрано товаров: 20