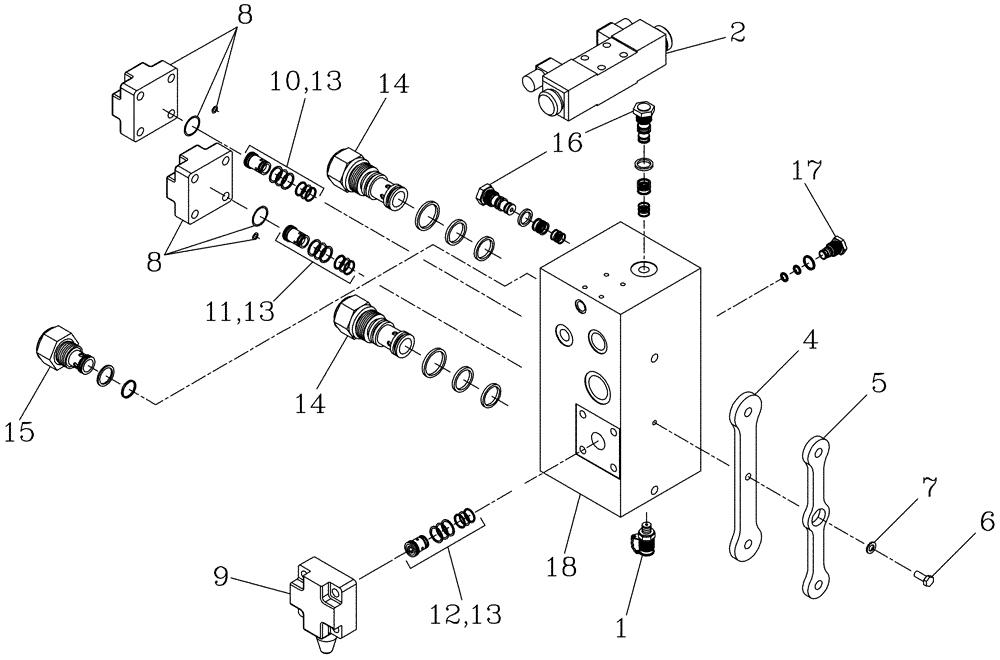
Запчасти Case IH 7700 (B05[07]) - HYDRAULIC VALVE {Basecutter} Hydraulic Components & Circuits

Схема запчастей Case IH 7700 - (B05[07]) - HYDRAULIC VALVE {Basecutter} Hydraulic Components & Circuits
11
6
9
10
17
8
13
1
7
13
16
18
5
2
8
14
12
14
4
13
15
FIT
1:1
100%

Артикул

Название

Примечание

Количество

1

00405498

SCREW ON COUPLING

1шт.

2

00410212

HYDRAULIC VALVE

1шт.

4

442998A1

SPACER

1шт.

5

442999A1

SPACER

1шт.

6

FA108020

BOLT

1шт.

7

WB080000

WASHER

1шт.

8

400430A1

CAP COVER

2шт.

8

400429A1

SEAL KIT

2шт.

9

87404045

CAP COVER

VALVE COVER and CARTRIDGE

1шт.

9

87403917

KIT

1шт.

10

87404044

HYDRAULIC VALVE

CARTRIDGE

1шт.

11

87404043

HYDRAULIC VALVE

CARTRIDGE

1шт.

12

400428A1

HYDRAULIC VALVE

CARTRIDGE

1шт.

13

400429A1

SEAL KIT

3шт.

14

87404046

HYDRAULIC VALVE

CARTRIDGE

2шт.

14

87403918

SEAL KIT

2шт.

15

87404051

HYDRAULIC VALVE

CARTRIDGE

1шт.

15

400260A1

SEAL

1шт.

16

399136A1

HYDRAULIC VALVE,3/4" - 16

CARTRIDGE

2шт.

16

400261A1

SEAL KIT

2шт.

17

87404050

HYDRAULIC VALVE

CARTRIDGE

1шт.

17

400262A1

SEAL KIT

1шт.

18

443004A1

VALVE

ASSEMBLY

1шт.

Выбрано товаров: 23