Качественные детали и логистика
Оригинальные и аналоговые запчасти с доставкой по России, Казахстану и Беларуси
©2022 PartSell ООО "Система" ИНН 2463123282 ОГРН 1212400004838
Центральный офис: г. Красноярск, Академика Киренского, д.87, пом.4
Телефон: 8 (800) 777-65-74 Email: zakaz@partsell.ru
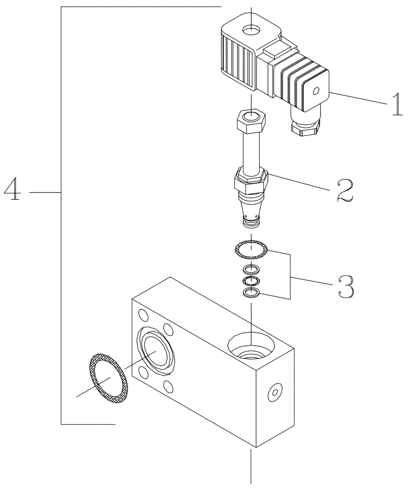
(B05[08]) - HYDRAULIC SOLENOID VALVE {Positive Drive}
№
Артикул
Название
Примечание
Количество
1
00409527
COIL
Solenoid
1шт.
2
00409526
VALVE PRESSURE RELIE
Cartridge
3
00409564
SEAL KIT
4
00410311
VALVE
Assembly
Выбрано товаров: 0