Запчасти Case IH A7000 (A12.01[01]) - Air Conditioner (10) - CAB & AIR CONDITIONING

Схема запчастей Case IH A7000 - (A12.01[01]) - Air Conditioner (10) - CAB & AIR CONDITIONING
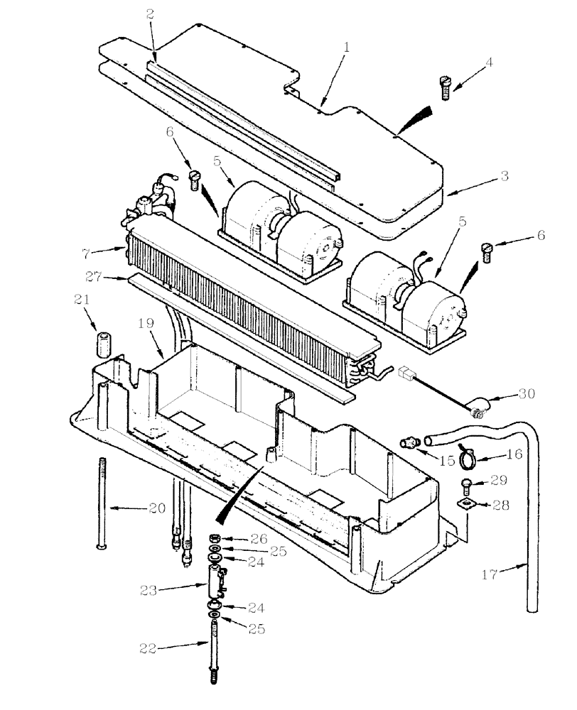
7
21
23
19
5
15
25
30
20
3
16
6
29
4
1
6
2
17
24
24
28
26
5
25
27
22
FIT
1:1
100%

Артикул

Название

Примечание

Количество

01

222386A2

COVER ASSY

01шт.

02

236759A2

WINDGUARD,927.1mm L

01шт.

03

222494A2

GASKET,3.2mm Thk

01шт.

04

840-2410

SCREW,Pozidrive, Pan HD, M4 x 10mm, Cl 4.8

13шт.

05

394064A1

BLOWER

Assy

02шт.

06

758-1

SELF-TAP SCREW,Pan Hd, M4.2 x 16

12шт.

07

251389A1

RADIATOR

01шт.

15

1250522C3

FITTING

02шт.

16

22-824

CABLE TIE,3/16" x 7 1/4"

CABLE STRAP

03шт.

17

222647A1

HOSE,12.95 mm ID x 2880.00 mm

02шт.

19

181061A4

CASE

01шт.

20

222384A2

CARRIAGE BOLT

02шт.

21

307164A1

SPACER

02шт.

22

236817A1

STUD

01шт.

23

394065A1

RESISTOR

01шт.

24

307155A1

WASHER

02шт.

25

307154A1

WASHER

02шт.

26

829-1406

NUT,Hex, M6 x 1, Cl 10.9

01шт.

27

255538A1

GASKET

01шт.

28

3402978R1

PLATE

06шт.

29

780-14625

SELF-TAP SCREW,Hex Hd, M6.3 x 25

06шт.

30

410496A1

DIODE

Diode Stud Mount

01шт.

Выбрано товаров: 22