Запчасти Case IH A7700 (C01.02[01]) - Engine Filter {DS11} (01) - ENGINE

Схема запчастей Case IH A7700 - (C01.02[01]) - Engine Filter {DS11} (01) - ENGINE
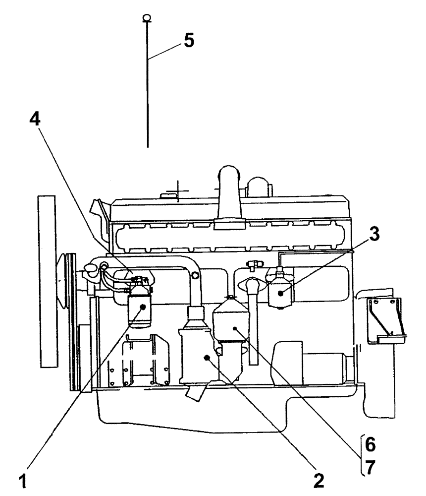
1
2
7
6
4
3
5
FIT
1:1
100%

Артикул

Название

Примечание

Количество

01

0000908567

FILTER

01шт.

02

0000908701

RADIATOR

01шт.

03

0000908568

FILTER

01шт.

04

0000908549

BRACKET

01шт.

05

0000908548

ROD

01шт.

06

0000908704

FILTER

01шт.

07

0000908705

ELEMENT

01шт.

Выбрано товаров: 7