Запчасти Case IH A8800 (35.000.AA[29]) - HYDRAULIC CIRCUIT CHOPPER AUTO TRACKER (35) - HYDRAULIC SYSTEMS

Схема запчастей Case IH A8800 - (35.000.AA[29]) - HYDRAULIC CIRCUIT CHOPPER AUTO TRACKER (35) - HYDRAULIC SYSTEMS
8
20
19
20
10
15
12
22
21
21
5
2
12
20
4
1
1
20
2
6
15
3
9
14
21
7
18
17
13
1
21
10
16
11
FIT
1:1
100%

Артикул

Название

Примечание

Количество

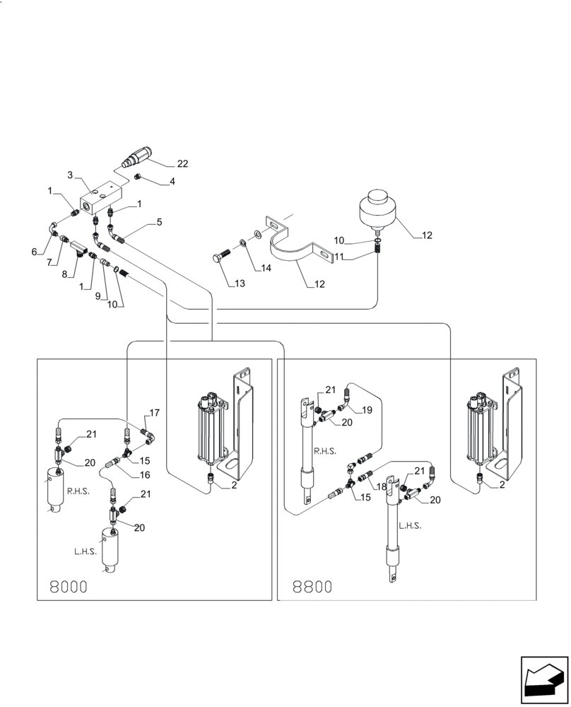
1

84226855

HYD CONNECTOR

4шт.

2

82743200

HOSE ASSY.

1шт.

2

81683100

HOSE,6.35mm ID x 1570mm L, SAE 100R1

1шт.

MY2012

1шт.

3

84235757

COUPLING BLOCK

1шт.

4

84235756

CHECK VALVE

1шт.

5

86327600

HOSE ASSY.

1шт.

6

00402879

HYD CONNECTOR

1шт.

7

0000948798

ADAPTER

1шт.

8

00408321

VALVE

1шт.

9

0000948805

TERMINAL

1шт.

10

913888

HOSE CLAMP

2шт.

11

84206362

HOSE,9.53mm ID x 2000mm L, SAE 30R2

1шт.

11

86315420

HOSE ASSY.

1шт.

MY2012

1шт.

12

87454560

ACCUMULATOR

1шт.

13

00FA108016

SCREW

5шт.

14

00WB080000

WASHER

5шт.

15

00400207

TEE

1шт.

16

82711400

HOSE

1шт.

A8000

1шт.

17

87254120

HOSE,6.35mm ID x 2450mm L, SAE 100R17

1шт.

A8000

1шт.

18

82743200

HOSE ASSY.

1шт.

A8800

1шт.

19

87234593

HOSE,6.35mm ID x 1950mm L, SAE 100R17

1шт.

A8800

1шт.

20

00404677

TEE

2шт.

21

00400143

HYD CONNECTOR

2шт.

22

84565416

VALVE PRESSURE RELIE

1шт.

Выбрано товаров: 0