Запчасти Case IH A8800 (10.254.AI[02]) - DC-9 MOTOR EXHAUST SYSTEM W/ MUFFLER (10) - ENGINE

Схема запчастей Case IH A8800 - (10.254.AI[02]) - DC-9 MOTOR EXHAUST SYSTEM W/ MUFFLER (10) - ENGINE
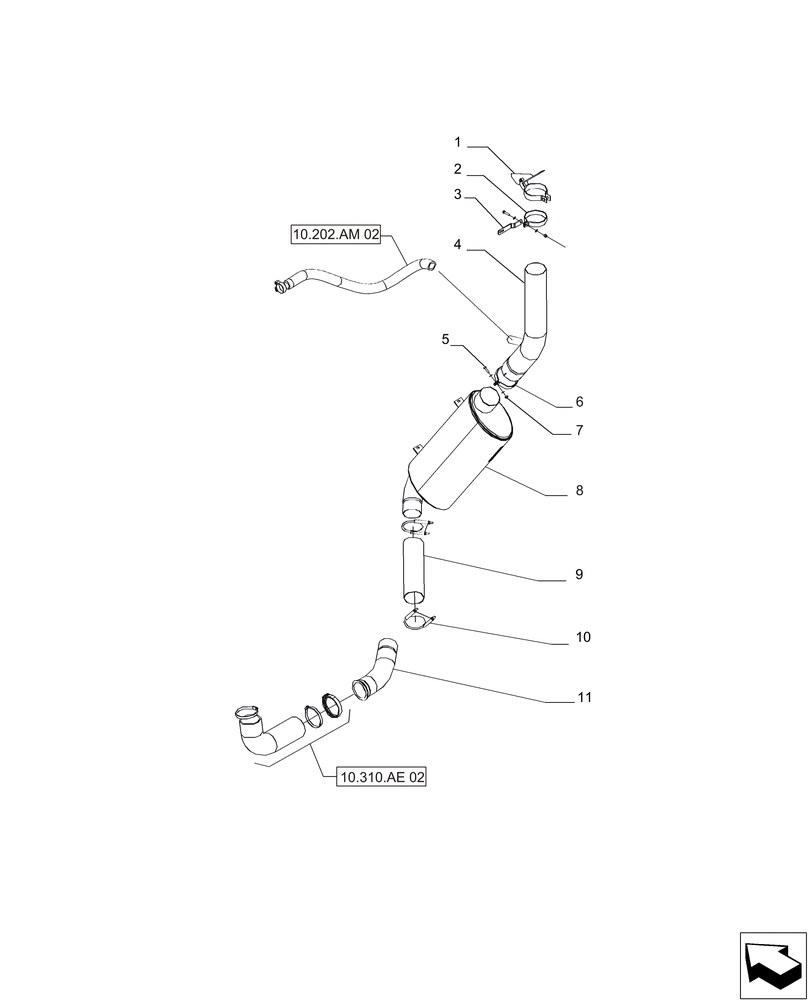
10
3
1
4
7
10.310.ae 02
6
5
11
2
9
10.202.am 02
8
FIT
1:1
100%

Артикул

Название

Примечание

Количество

1

89850218

COVER

1шт.

2

84453815

STRAP,114mm

1шт.

3

87371544

BRACKET

1шт.

4

84150827

EXHAUST SYSTEM PIPE

1шт.

5

43128

BOLT,M8 x 1.25 x 30mm, Cl 8.8

9шт.

6

87556193

CLAMP

1шт.

7

86629542

NUT,M8 x 1.25, Cl 8.8

1шт.

8

87645656

MUFFLER

1шт.

9

87645654

TUBE

1шт.

10

131539

CLAMP

2шт.

11

87645653

TUBE

1шт.

Выбрано товаров: 11